پتنت جدید اپل چگونگی بازخورد لمسی در هدست‌های واقعیت مجازی را نشان می‌دهد

شنبه 9 اسفند 1399 - 21:00
مطالعه 5 دقیقه
اپل درباره‌ی دستگاه نصب‌شده روی انگشت مجهز به آرایه‌ای از حسگرها برای ارائه‌ی بازخورد لمسی در حال تحقیق است که با استفاده از آن، می‌توان هدست‌های واقعیت افزوده یا مجازی را کنترل کرد.
تبلیغات

به‌گزارش MacRumors و با استناد به اختراع ثبت‌شده‌ی اپل، غول دنیای فناوری مشغول پژوهش و تولید دستگاهی برای تشخیص بازخورد و فرامین کاربر در هدست‌های نصب‌شده روی سَر (HMD) است. این دستگاه می‌تواند نقطه‌ی عطفی در ارتباط و غوطه‌وری کاربر در محیط مجازی و پرجزئیات این نوع از هدست‌ها تلقی شود و شاید یکی از قابلیت‌های مهم عینک واقعیت افزوده‌ی کوپرتینویی‌ها موسوم به اپل گلس باشد.

اختراع ثبت‌شده‌ی اپل در اداره‌ی ثبت اختراعات و علائم تجاری ایالات متحده با عنوان «دستگاه نصب‌شده روی انگشت مجهز به حسگرها و تشخیص بازخورد» به‌تفصیل مکانیزمی را شرح می‌دهد که می‌توان از آن برای کنترل بی‌سیم رایانه‌ها و سیستم نمایشگرهای مستقر در سَر (هدست‌ها) استفاده کرد. این امر سبب می‌شود کاربر با محتوای واقعیت افزوده یا مجازی ارتباط برقرار و بازخورد فیزیکی دریافت کند و درنهایت، تجربه‌‌اش را در بین انبوهی از محتوا بهبود بخشد.

پتنت اپل مرتبط با بازخورد لمسی در عینک واقعیت افزوده

به‌نظر می‌رسد پرونده‌ی ثبت اختراع یادشده با شایعاتی در‌باره‌ی کنترل فرامین کاربر در هدست مورد‌انتظار اپل همسو باشد. گزارش‌های اخیر حاکی از آن بودند که این شرکت مشغول توسعه‌ی روش‌های مختلفی، ازجمله دستگاهی شبیه حلقه (انگشتر) برای کنترل هدست واقعیت ترکیبی است. اپل استدلال می‌کند دستگاه کنترل‌کننده پوشیدنی می‌تواند به دستکش شبیه و حسگرهایی برای تشخیص حرکات دست داشته باشد. دستگاه مذکور چندین مزیت دارد؛ مانند حفظ توانایی احساس اشیاء در محیط اطراف و راحتی کاربر در این شرایط.

پتنت اپل مرتبط با بازخورد لمسی در عینک واقعیت افزوده

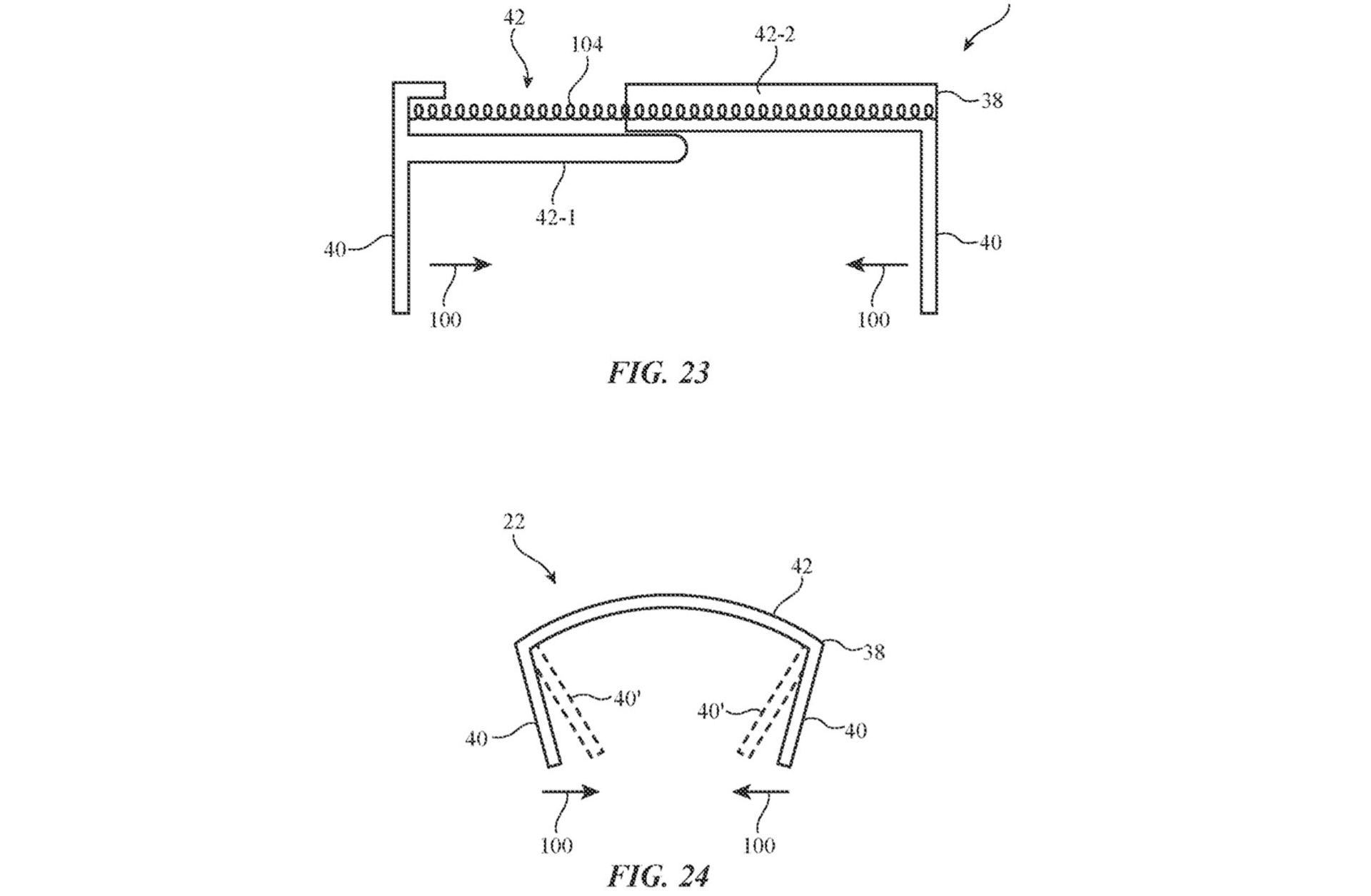
ازنظر طراحی، این محصول دو دیوار کناری کوچک برای حفظ حالت انگشت با استفاده از آهن‌ربا یا فنر دارد؛ بنابراین، می‌تواند طیف وسیعی از اندازه‌ی انگشت را در خود جای دهد و متناسب با هر فرد پیکربندی شود. افزون‌براین، ممکن است از ماده‌ی تغییرشکل‌دهنده‌ای مانند فلز تشکیل شده باشد؛ اما اپل پیشنهاد می‌کند مواد دیگر، مانند پارچه یا پلیمر نیز می‌توانند مناسب باشند. این دستگاه بالای انگشتان کاربر را می‌پوشاند و نوک انگشتان را درمعرض دید قرار می‌دهد؛ به‌طوری‌که شخص همچنان می‌توان به‌صورت عادی سطوح را لمس کند.

در مستندات اختراع آمده است که برای اینکه کاربر بتواند اشیای دنیای واقعی را دقیق احساس کند، ممکن است دستگاه نصب‌شده روی انگشت مشخصات مقطع U شکل یا شکل دیگری داشته باشد که به قسمت‌های تحتانی نوک انگشتان کاربر اجازه می‌دهد درمعرض محیط قرار بگیرند. اپل توضیح می‌دهد این پیکربندی به کاربر اجازه می‌دهد سطوح را با پوست خود لمس کند و درنتیجه حساسیت کاربر را به محیطی افزایش دهد که دستگاه در آن استفاده می‌شود.

پتنت اپل مرتبط با بازخورد لمسی در عینک واقعیت افزوده

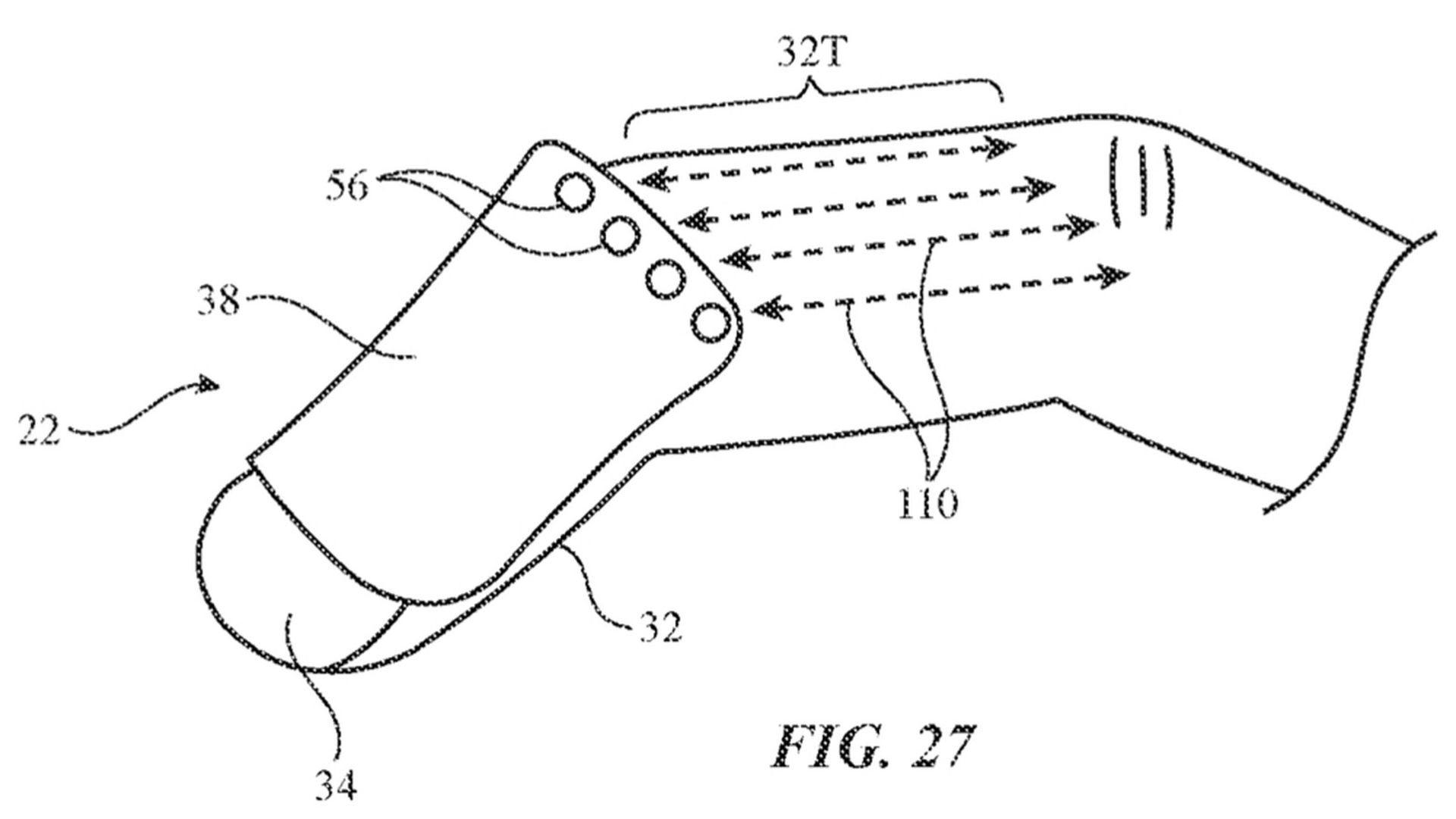
به‌طور خاص، این دستگاه را پوسته‌ای تشکیل می‌دهد که حسگرهای حساس به فشار، شتاب‌سنج‌ها، ژیروسکوپ، حسگر اپتیکال، حسگرهای لمسی، چراغ نشانگر وضعیت و... را شامل می‌شود. این حسگرها از روش‌های سنجش خازنی و روش‌هایی دیگر برای تعیین دقیقِ نحوه‌ی حرکت انگشت و تعامل کاربر با سطوح استفاده می‌کنند. گفته می‌شود این سیستم آن‌قدر دقیق است که می‌تواند میزان فشار کاربر روی سطح و جهت دقیق فشار وارده را تشخیص دهد. مدارهای کنترل ممکن است ورودی فشار انگشت و حرکت انگشت جانبی و ورودی ضربه را با استفاده از حسگرها جمع و با استفاده از دستگاه خارجی (هدست) خروجی لمسی را فراهم کنند.

در پاسخ به تعاملات مجازی‌شده در هدست، دستگاه نصب‌شده روی انگشت دقیقا مانند اپل واچ در کلیک‌ها و سایر خروجی‌ها می‌تواند بازخورد لمسی به کاربر منتقل کند. برای مثال، مدارهای کنترل ممکن است خروجی هپتیک (بازخورد لمسی) را براساس اطلاعات بی‌سیمِ دریافت‌شده از هدست به انگشتان کاربر تأمین کنند. از قرار معلوم، خروجی لمسی احتمالا با فناوری واقعیت مجازی یا واقعیت افزوده مطابقت خواهد داشت. ممکن است خروجی هپتیک دراختیار کاربر قرار گیرد تا به او تأیید کند ورودی پرتو نوری شناسایی شده است یا درغیراین‌صورت بازخورد را به او ارائه می‌دهد.

یکی از مباحث مهم در تحقیقات چند وقت اخیر اپل‌، ارائه‌ی محتوای مجازی روی سطوح بوده است. به‌طورکلی، مفهوم ارائه‌ی محتوای تصویری روی سطوح و تعامل با آن‌ها بدون استفاده از صفحات حساس به لمس مدت‌ها است در دنیای فناوری وجود دارد و احتمالا مشهورترین آن‌ها صفحه‌کلیدهای مجازی ساطع‌شده روی سطوح باشد. در چند سال اخیر، این صفحه‌کلیدها به‌صورت مفهومی به‌نمایش درآمده‌اند؛ اما به‌دلایلی ازجمله بی‌دقتی و کُندی و ارائه‌ی بازخورد مصنوعی در‌مقایسه‌با صفحه‌کلیدهای فیزیکی، عمدتا با استقبال کاربران مواجه نشده‌اند.

اکنون، دستاورد جدید اپل می‌تواند با ارائه‌ی بازخورد در صفحه‌کلید مجازی که روی سطح صاف و سخت مانند میز ساطع می‌شود، تجربه‌ی کاربری را بهبود دهد و با هر ضربه‌ی کاربر تجربه‌ی صفحه‌کلید فیزکی را شبیه‌سازی کند. درنهایت، دستگاه مذکور بازخورد لمسی را برای دستگاه‌ نصب‌شده روی سَر یا هدست واقعیت افزوده و واقعیت مجازی ایجاد می‌کند. همچنین، این دستگاه ممکن است به کاربر اجازه دهد ورودی از نوع جوی‌استیک را فقط با استفاده از حرکت جانبی نوک انگشتانش در بازی‌ها انجام دهد. سیستم پیشنهادی اپل می‌تواند روی یک یا چند انگشت نیز پوشیده شود؛ اما مشخص نیست این امر چه تفاوتی در فعل‌وانفعالات آن ایجاد می‌کند.

گفتنی است صفحه‌کلیدهای ساطع‌شونده معمولا به الگوی نور مادون‌قرمز نامرئی متصل می‌شوند تا روی سطح مدنظر ساطع شوند. درواقع، وقتی کاربر روی فضای کلید مجازی ساطع‌شده ضربه می‌زند، داده‌ها با حسگرهای تصویر در دستگاه مذکور شناسایی و اعمال می‌شوند. در گذشته، کوپرتینویی‌ها چندین‌بار روی اختراعات با پرتوافکن نور کار کرده‌اند و به‌نوعی برای ارائه‌ی این تکنولوژی در آینده بسیار مصمم‌اند. برای مثال، اکتبر ۲۰۲۰ (مهر ۱۳۹۹) این شرکت اختراعی با هدف پرتوافکنی روی اشیاء به‌منظور ارائه‌ی تصاویر مبتنی‌بر واقعیت افزوده ثبت کرده است. در سال ۲۰۱۳ نیز، این شرکت تصور می‌کرد با ارائه‌ی میزی که به‌جای نمایشگر LCD از پروژکتور استفاده می‌کند، لپ‌تاپ‌ها یا کامپیوترهای رومیزی کنونی را می‌تواند منسوخ کند و حتی با استفاده از شارژ القایی، سیم‌ها را از بین برد.

اپل هر هفته اختراعات بی‌شماری ثبت می‌کند. ثبت اختراع نشان‌دهنده‌ی موضوعات دلخواه واحد تحقیق‌‌و‌‌توسعه شرکت‌ها محسوب می‌شود؛ اما تضمین‌کننده‌ی ارائه‌ی آن در محصول یا خدمات آینده به‌حساب نمی‌آید. طبیعتا این امر درباره‌ی بسیاری از پتنت‌های مرتبط با عینک واقعیت افزوده نیز صدق می‌کند.

نظرات