پتنت اپل مکانیزم عینک واقعیت افزوده را برای تمیز کردن خودکار گرد و غبار نشان می‌دهد

شنبه 9 اسفند 1399 - 12:40
مطالعه 3 دقیقه
جدیدترین پتنت اپل چگونگی جلوگیری خودکار از تجمع گرد و غبار روی نمایشگر دستگاه‌های‌ قابل نصب ‌روی سر، مانند اپل گلس را به‌تفصیل شرح می‌دهد.
تبلیغات

تاکنون شایعات متعددی از علاقه‌ی اپل برای ساخت نوعی عینک مبتنی بر فناوری واقعیت افزوده منتشر شده است که از آن با نام اپل گلس یاد می‌شود؛ اما غول دنیای فناوری تحقیق و توسعه‌ی این محصول را در شرایط آزمایشگاهی کافی دانسته و از ارائه‌ی آن در بازار امتناع کرده است. با وجود اطلاعات بسیار کم از مشخصات محصول، انبوهی از پتنت‌ها می‌توانند دیدید مناسبی از ویژگی‌های احتمالی این عینک به اشتراک بگذارند.

اپل‌اینسایدر با استناد به جدیدترین پتنت اپل گزارشی تدوین کرده است که براساس آن، این شرکت قصد دارد با توسعه و ارائه‌ی مکانیزمی از تجمع گرد و غبار روی شیشه و نمایشگر اپل گلس جلوگیری کند. اگر از عینک استفاده می‌کنید، قطعا پارچه‌ای به همراه دارید که برای تمیز کردن لنزهای عینک از آن بهره می‌گیرید و ممکن است لازم باشد عینک واقعیت افزوده را به همین شکل پاک کنید. اما یک برنامه‌ی ثبت اختراع که به‌تازگی رسانه‌ای شده است، به‌خوبی نشان می‌دهد اپل به‌ دنبال تمیز نگه داشتن قسمت داخلی دستگاه بدون نیاز به دخالت فیزیکی است.

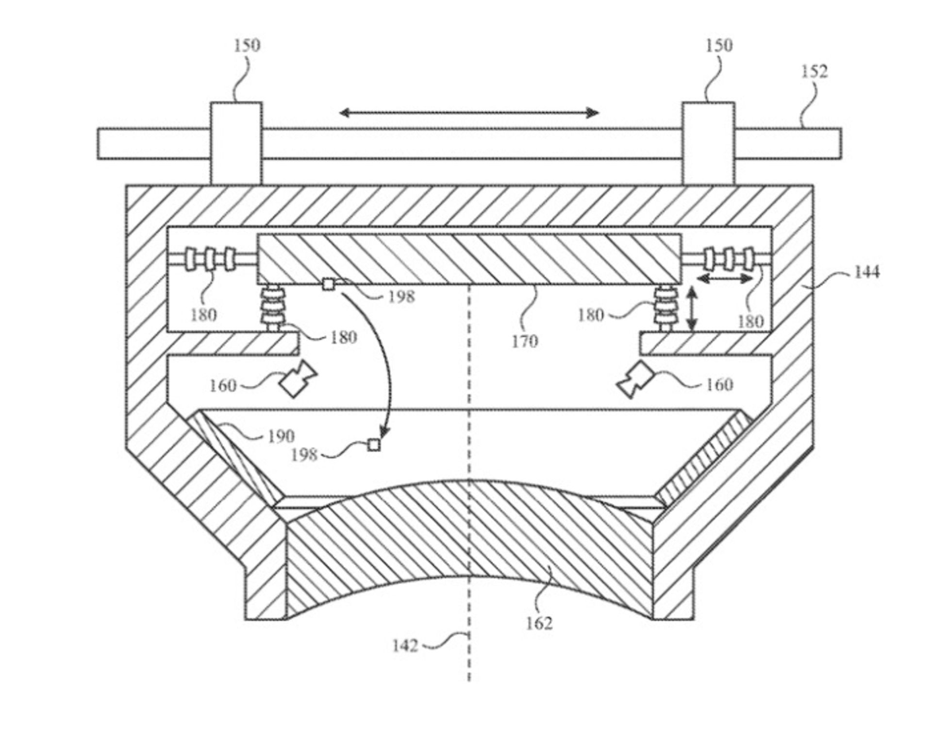
پتنت اپل مرتبط با عینک واقعیت افزوده اپل گلس / Apple Glass

اختراع ثبت‌شده اپل در اداره‌ی ثبت اختراعات و علائم تجاری ایالات متحده با عنوان «کنترل ذرات برای دستگاه قابل نصب روی سر» به شرح مکانیزمی می‌پردازد که با استفاده از آن، دستگاه یا آنچه اپل به‌عنوان ماژول اپتیکال یاد می‌کند، می‌تواند خود را از گرد و غبار پاک کند. اپل استدلال می‌کند که کیفیت نمای ارائه‌شده در ماژول اپتیکال می‌تواند به شفافیت مسیر اپتیکال بین منبع تصویر و چشم کاربر بستگی داشته باشد. برای مثال، ذرات گرد و غبار، جسم خارجی یا سایر مواد در امتداد این مسیر می‌توانند مانع و تحریف محتوا شوند یا به عبارت دیگر، بر نمای ارائه‌شده به کاربر تأثیر منفی بگذارند.

به‌طور خاص، اگر محصول دارای نمایشگری با وضوح و تراکم پیکسلی بالا باشد، چنین ذراتی در سطح آن می‌توانند کل پیکسل یا حتی چندین پیکسل را مسدود کنند؛ به‌طوری که تصویر منتقل‌شده به کاربر شکلی ناهمگون و تحریف‌شده خواهد داشت. اپل ادعا می‌کند که مشکل مذکور در طول عمر دستگاه قابل نصب روی سر (HMD)، تأثیرگذار خواهد بود و حتی اگر دستگاه دربرابر نفوذ ذرات خارجی عایق و مُهروموم شده باشد، جلوگیری از این واقعه تقریبا اجتناب‌ناپذیر است؛ زیرا با گذشت زمان و تخریب، فرسایش، اصطکاک، سایش یا قدیمی شدن قطعات، ذرات می‌توانند به داخل محفظه نفوذ کنند و روی نمایشگر را بپوشانند. پیشنهاد اپل این است که دستگاه خود برای از بین‌ بردن گرد و غبار تلاش کند.

در مستندات اختراع آمده است که دستگاه می‌تواند ذرات را خارج از گستره‌ی دید کاربر جذب کند و تا حد ممکن در عناصر اپتیکال تداخلی ایجاد نکند. یکی از راه‌های دستیابی به این هدف لرزش است. به‌عنوان مثال، نمایشگر و یک عنصر نوری دیگر می‌تواند به‌گونه‌ای منتقل شود که ذرات را در یک سطح قابل مشاهده از آن آزاد کند و ماژول نوری می‌تواند شامل یک عنصر نگه‌دارنده ذرات باشد که ذرات را به‌طور ایمن محفوظ می‌کند و آن‌ها را خارج از مسیر نوری (اپتیکال) قرار می‌دهد؛ بنابراین اپل گلس می‌تواند ذرات گرد و غبار جمع‌شده را به‌راحتی آزاد و دور از چشم کاربر، آن‌ها را در محفظه‌ای جمع کند. این لرزش می‌تواند در زمانی ‌که دستگاه مشکلی را تشخیص می‌دهد، به‌صورت هوشمند و خودکار انجام شود. کاربر می‌تواند این قابلیت را فعال یا غیرفعال کند. اعتبار ثبت این اختراع به پنج مخترع از جمله ایوان اس. ماریچ داده شده که در گذشته روی اختراعات مختلفی کار کرده است.

اپل هر هفته اختراعات بی‌شماری ثبت می‌کند. ثبت اختراع نشان‌دهنده‌ی موضوعات دلخواه واحد تحقیق‌ و ‌توسعه شرکت‌ها محسوب می‌شود؛ اما تضمین‌کننده‌ی ارائه‌ی آن در محصول یا خدمات آینده به‌حساب نمی‌آید. طبیعتا این امر درباره‌ی بسیاری از پتنت‌های مرتبط با عینک واقعیت افزوده نیز صدق می‌کند.

نظرات