پتنت جدید اپل قابلیت‌های پیشرفته هدست‌ واقعیت مجازی را نشان می‌دهد

دوشنبه 27 بهمن 1399 - 09:00
مطالعه 7 دقیقه
جدیدترین اختراع اپل توسعه و بازآفرینی فناوری برای استفاده در دستگاه‌های واقعیت مجازی قابل نصب‌ روی سر، مانند اپل گلس را به‌تفصیل شرح می‌دهد.
تبلیغات

مدتی است که می‌دانیم اپل در حال توسعه‌ی پلتفرم واقعیت افزوده (AR) و واقعیت مجازی (VR) است و برای اثبات آن می‌توان به انبوهی از پتنت‌های این شرکت رجوع کرد. گزارش‌های اخیر حاکی از آن است که اولین پوشیدنی قابل نصب‌ روی سَر (HMD) اپل متمرکز بر فناوری واقعیت ترکیبی (MR)  خواهد بود و غول دنیای فناوری برای به رخ کشیدن قدرت این فناوری، قصد دارد اولین محصولش را با مشخصات فوق پیشرفته‌ای معرفی و روانه‌ی بازار کند.

گفته می‌شود محصول دیگری با نام احتمالی اپل گلس (Apple Glass)، وارد مرحله‌ی سوم توسعه و طراحی شده است و احتمالا اپل در فرایند طراحی آن با مشکلاتی مواجه شده و عرضه‌ی آن را آن را به تأخیر انداخته است. اعتقاد بر این است که اپل گلس می‌تواند تلاقی آیفون و دستگاه واقعیت افزوده‌ای به شکل عینک‌های امروزی باشد. احتمالا این محصول بسیار ارزان‌تر از برادر پیشرفته‌اش خواهد بود و به‌نوعی بازار مصرفی و عموم مردم را هدف قرار می‌دهد. 

بنا بر گزارش اپلاینسایدر، غول فناوری کوپرتینو با ثبت سه اختراع آخرین دستاورد و ایده‌هایش را به منظور استفاده در دستگاه‌های واقعیت افزوده یا واقعیت ترکیبی به اشتراک گذاشته است که استناد به آن، می‌تواند دید خوبی از فناوری‌های احتمالی قابل استفاده در این محصولات را به علاقه‌مندان ارائه بدهد.

پتنت اپل مرتبط با فناوری AR و VR

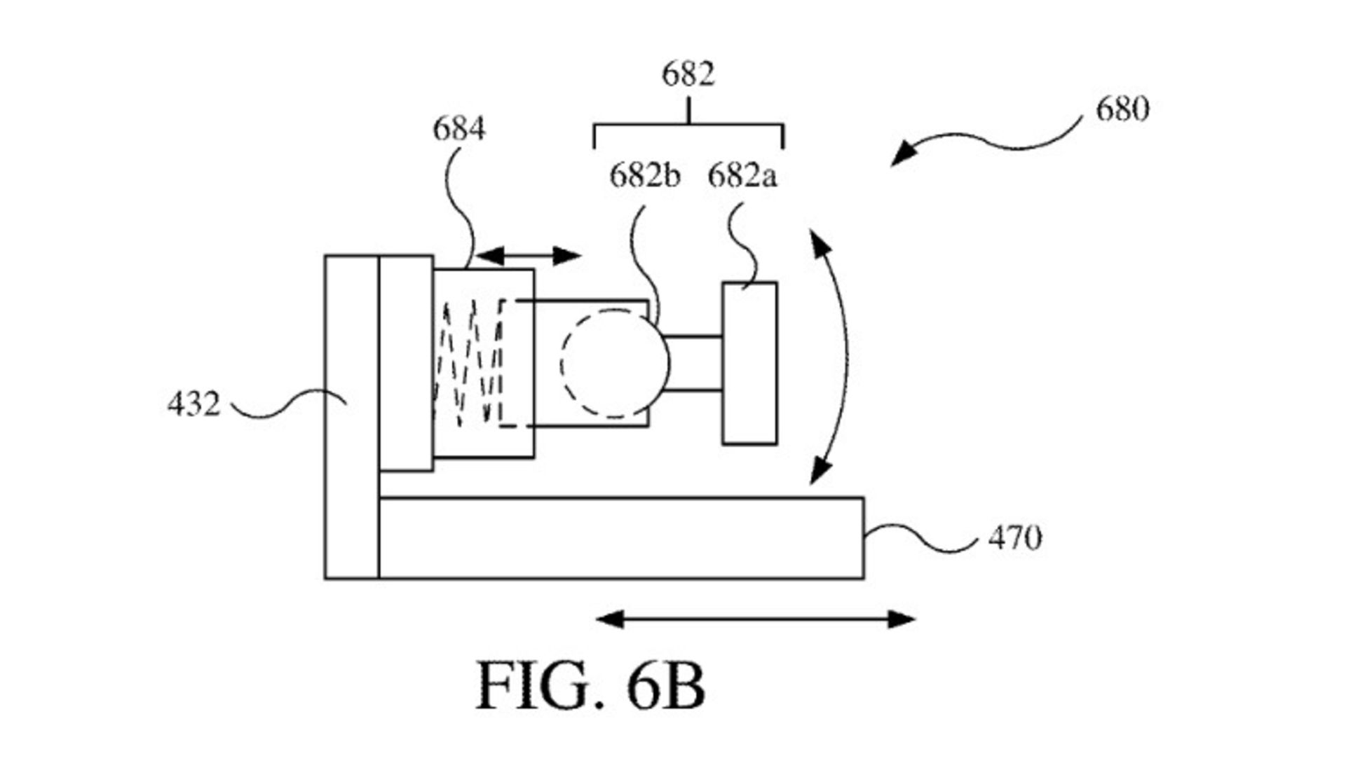
اولین اختراع ثبت‌شده در اداره‌ی ثبت اختراعات و علائم تجاری ایالات متحده با عنوان «دستگاه‌های الکترونیکی مجهز به حسگر نور مادون قرمز هدایت‌شده توسط پرتو» اپل سیستمی را شرح می‌دهد که از حسگر مادون قرمز برای جمع‌آوری طیف نوری یک جسم استفاده می‌کند. این می‌تواند شامل هدایت‌کننده‌های پرتو و اجزای قابل تنظیم مانند لنزها و سایر قطبنده‌ها باشد.

در مستندات اختراع مذکور آمده است که طیف اشعه‌ی مادون قرمز، تصاویر دوربین قابل مشاهده یا داده‌های حسگرهای دیگر ممکن است به‌تنهایی و به‌صورت ترکیبی برای توصیف اشیاء مدنظر مورد استفاده قرار بگیرند؛ بنابراین ارائه اعلان‌ برای کاربر و سایر اقدامات، امکان‌پذیر است؛ به عبارت دیگر، این همان فناوری نهفته در سیستم تشخیص چهره‌ی بیومتریک فیس آی‌دی (Face ID) را یادآوری می‌کند و نکته‌ی قابل ‌توجه این اختراع، استفاده‌های بالقوه به‌ویژه در دستگاه واقعیت افزوده قابل نصب‌ روی سَر است.

اپل استدلال می‌کند که این سیستم می‌تواند در کارهایی مانند تشخیص تصاویر مورد استفاده قرار بگیرد. فرض کنید یک کاربر بخواهد با استفاده از سنجش نور، طرز پخت، کالری و ... مواد غذایی را ارزیابی کند؛ این اولویت‌ها ممکن است در حافظه‌ی دستگاه ذخیره یا به‌وسیله‌ی کاربر به‌صورت پویا انتخاب شود.

به ‌گفته‌ی اپل، تشخیص تصویر می‌تواند برای ورود اطلاعات به پایگاه داده استفاده شود. این داده‌ها می‌تواند شامل ویژگی‌های غذایی مانند تازگی، مقدار چربی، نوع غذا، شیرینی و سایر معیارها باشد. البته ویژگی یادشده پتانسیل بیشتری دارد و تنها به غذا ختم نمی‌شود. به‌طور کلی، با بهره‌گیری از سیستم پیشنهادی غول دنیای فناوری، هر نوع شیء را می‌توان با استفاده از حسگر اپتیکال تجزیه‌ و تحلیل کرد. به ‌زبان ساده، اختراع اپل، گیاهان، حیوانات، اشیاء بی‌جان، غذا، رنگ، قسمت‌های یک خانه یا ساختمان دیگر، سیستم‌های اتومبیل، تجهیزات الکترونیکی، مبلمان و ... را پوشش می‌دهد. 

ازآنجاکه نور مادون قرمز می‌تواند ارتعاش و چرخش مولکول را در ماده تشدید تحریک کند، می‌توان از این سیستم برای تهیه اطلاعات در بدن کاربر استفاده کرد. به ادعای اپل، این سیستم همراه ‌با حسگرهای دیگر می‌تواند تنفس کاربر را برای داده‌های بیشتر کنترل کند.  این اختراع حاصل کار گروهی از مخترعان اپل است که در بین آن‌ها، ونپولا و گوچینگ شائو در اختراعات مشابه مرتبط با فناوری سنجش نور محیط نقش داشته‌اند.

پتنت اپل مرتبط با فناوری AR و VR

دومین اختراع اپل با عنوان «نمایشگر قابل نصب‌ روی سَر مجهز به رابط صورت قابل تنظیم»، یک سیستم رابط را پوشش می‌دهد که قرار است روی سر کاربر قرار بگیرد و شامل دو قسمت جداگانه باشد. اپل بر این باور است که یک نمایشگر نصب‌شده روی سَر می‌تواند از مجموعه‌ای نمایشگرها و یک رابط صورت تشکیل شود. مؤلفه‌ی دوم به مونتاژهای نمایشگر متصل می‌شود و هدف اصلی‌اش حمایت از آن در شرایط نصب‌شده روی صورت خواهد بود.

اپل اختراع خود را این‌گونه توصیف می‌کند که قسمت بالایی رابط صورت، ناحیه‌ی فوقانی صورت، بالای چشم کاربر را تحت‌الشعاع قرار می‌دهد و قسمت زیرین، ناحیه‌ی تحتانی صورت را در زیر چشم کاربر درگیر می‌کند. قسمت پایین دارای انطباق برشی کمتری است که البته بیشتر از قسمت فوقانی خواهد بود. رابط صورت می‌تواند حاوی محفظه‌ای برای مهروموم‌ کردن نور باشد که از قرار معلوم، به ‌منظور جلوگیری از تأثیرات نور محیطی کاربرد دارد. این می‌تواند یک مکانیزم محوری برای ایجاد انطباق عمودی بین مجموعه‌ی نمایشگر و ناحیه تحتانی صورت داشته باشد و در عین ‌حال، یک قسمت سفت می‌تواند پشتیبانی از بینی کاربر را فراهم کند.

کوپرتینویی‌ها با بهره‌گیری از این سیستم قصد دارند چشم کاربر را محصور و محیطی برای واقعیت مجازی یا تجارب واقعیت ترکیبی فراهم کنند. اگر توجه کرده باشید، عینک‌ شنا برای جلوگیری از نفوذ آب، از واشرهای سیلیکونی دور هر یک از لنز‌ها بهره می‌گیرد و رابط صورت و سیستم پیشنهادی اپل شبیه واشرهای عینک شنا عمل می‌کند. آن‌ها روی صورت قرار می‌گیرند و اجازه می‌دهند که بین سَرِ کاربر و نمایشگرهای دستگاه واقعیت افزوده یا ترکیبی فاصله ایجاد شود. سیستم اپل البته پیچیده‌تر از واشرهای فومی یا مهروموم‌ ساده است؛ زیرا می‌تواند برای ایجاد یک تناسب راحت و پایدار پیکربندی شود و شامل مکانیزم‌های پیچیده‌تری برای قابلیت تنظیم و شخصی‌سازی باشد.  در مستندات این اختراع نام داستین ای، هاتفیلد، کریستی ای و بائورلی به‌عنوان مخترعان ذکر شده است.

براساس گزارش‌های قبلی، گفته می‌شود هدست واقعیت ترکیبی اپل احتمالا دارای مجموعه‌ای از حسگرها و دوربین‌های ردیابی حرکت دست و چشم خواهد بود. دستگاه مذکور می‌توان بیش از دوازده دوربین برای ردیابی حرکت دست و نشان دادن فیدهای ویدیویی جهان اطراف به کاربران داشته باشد. فناوری پیشرفته ردیابی چشم و نمایشگر با وضوح فوق‌العاده‌ی 8K همراه‌ با سایر ویژگی‌ها، این هدست را به گزینه‌ای بالارده و گران‌قیمت تبدیل خواهد کرد. اپل با سومین اختراعش مُهر تأییدی بر این ماجرا می‌زند و گویا ردیابی چشم یکی از پیشرفته‌ترین ویژگی‌های هدست واقعیت ترکیبی اپل خواهد بود.

پتنت اپل مرتبط با فناوری AR و VR

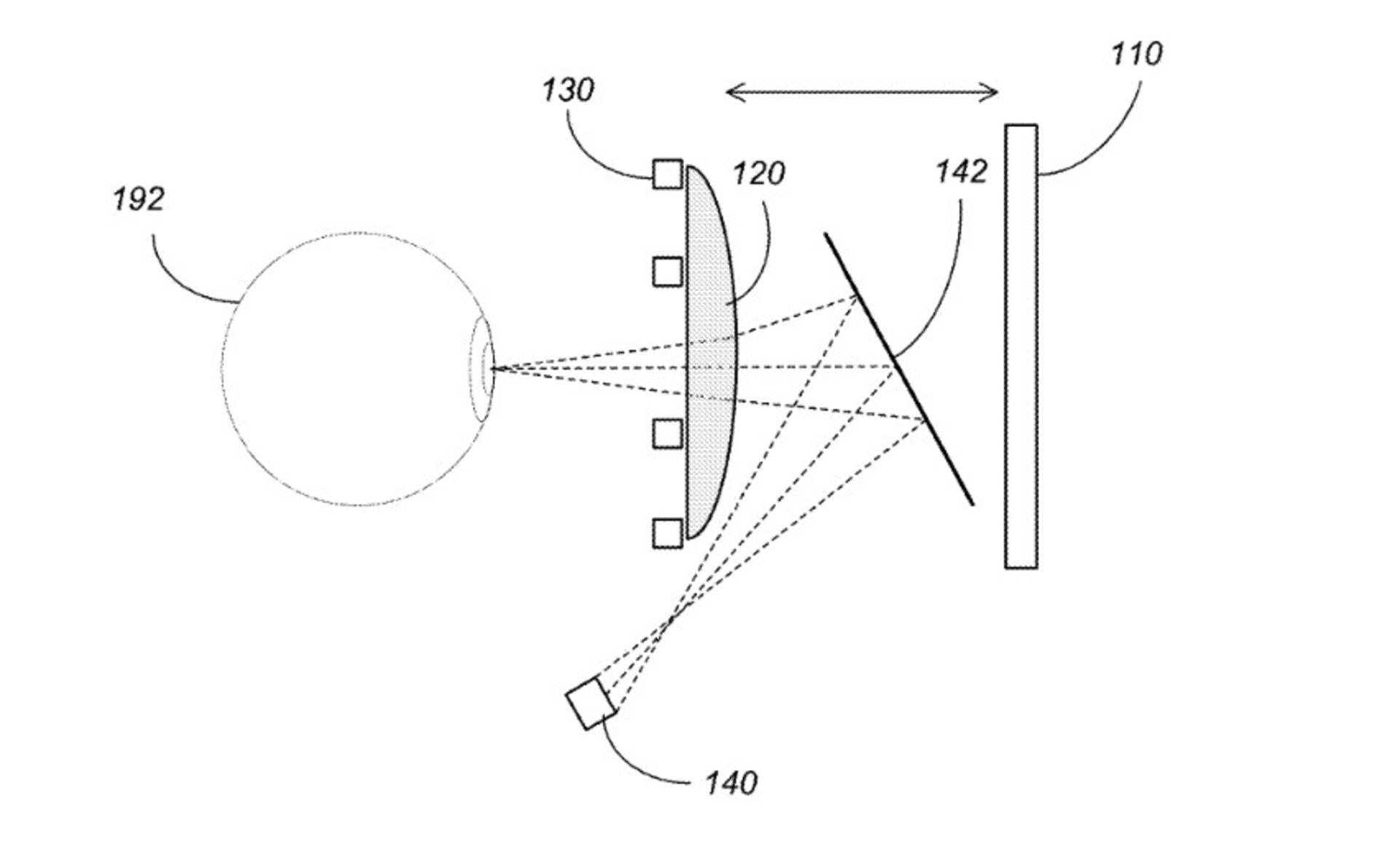
سومین پتنت اپل حاکی از آن است که اهالی کوپرتینو همچنان به اصلاح فناوری ردیابی چشم به‌منظور استفاده در دستگاه‌های AR و VR یا تلفیقی از هر دو (MR) ادامه می‌دهند. در مقایسه ‌با پتنت‌های ردیابی چشم گذشته، به نظر می‌رسد در اختراع جدید چند تفاوت بنیادی وجود دارد. به‌طور کلی، کانون توجه اپل در اختراعات مشابه حول محور استفاده از سیستم‌های موسوم به آینه‌ی‌ داغ برای ردیابی چشم کاربران معطوف بوده است. 

آینه‌ی‌ داغ یک آینه دی‌الکتریک تخصصی یا یک فیلتر دیکروئیک است که اغلب برای محافظت از سیستم‌های نوری با بازتاب نور مادون قرمز به یک منبع نور استفاده می‌شود و امکان عبور نور مرئی را فراهم می‌کند. آینه‌های داغ می‌توانند با زاویه متغیر بین صفر تا ۴۵ درجه در سیستم نوری قرار بگیرند و در موارد مختلفی که جمع شدن گرما می‌تواند به اجزای سازنده آسیب برساند یا بر خصوصیات طیفی منبع روشنایی تأثیر منفی بگذارد، بسیار مفید خواهند بود. نکته‌ی دیگر این است که طول موج‌های منعکس‌شده به ‌وسیله‌ی آینه‌ی‌ داغ مادون قرمز از حدود ۷۵۰ تا ۱۲۵۰ نانومتر است.

مانند سیستم‌های گذشته، اپل می‌گوید یک مجموعه ردیابی چشم حداقل از یک دوربین و یک منبع نور استفاده می‌کند. به‌ جای آینه‌های داغ، در اختراع جدید، اپل از توری‌های پراش به‌عنوان راهی برای دریافت نور نام برده است. توری‌های پراش حداقل بخشی از نور مادون قرمز را که از چشم کاربر منعکس می‌شود، هدایت یا منعکس می‌کنند و مانند مکانیزم آینه‌ی‌ داغ اجازه‌ی عبور نور مرئی را می‌دهند. این دوربین‌ها تصاویر چشمان کاربر را از نور مادون قرمز که توسط شبکه‌های پراش هدایت یا منعکس می‌شود، ثبت می‌کنند.

اپل در مستندات اختراع ادعا می‌کند سیستمی ادغام کننده‌ی شبکه‌های پراش انتقالی یا انعکاسی را در چشمی‌ها، هدست را از لحاظ ابعاد باریک‌تر از هدست‌های آینه‌ی‌ داغ می‌کند. علاوه‌ بر این، یکپارچه‌سازی گریتینگ‌های انعکاسی در عدسی‌ها باعث می‌شود تا در هنگام بهبود تصاویر (مثلاً کاهش اعوجاج) گرفته‌شده توسط دوربین‌های IR، چشمان کاربر ازطریق عدسی‌ها تصویربرداری شود.

 این یک بهبود چشمگیر در مقایسه ‌با سیستم‌هایی است که دوربین‌های IR مستقیما ازطریق آن چشم کاربر را مشاهده می‌کنند. درعین‌حال، شبکه‌ها در مقایسه با سیستم‌های گذشته، زاویه‌ی دید دوربین‌های IR را بهبود می‌بخشند.

اپل هر هفته اختراعات بی‌شماری ثبت می‌کند. ثبت اختراع نشان‌دهنده‌ی موضوعات دلخواه واحد تحقیق ‌و‌ توسعه شرکت‌ها محسوب می‌شود؛ اما تضمین‌کننده‌ی ارائه‌ی آن در محصول یا خدمات آینده نیست. طبیعتا این امر درباره‌ی بسیاری از پتنت‌های مرتبط با محصولات AR و VR نیز صدق می‌کند.

نظرات