دو پتنت جدید اپل به حسگرهای پیشرفته هدست‌ واقعیت مجازی و واقعیت ترکیبی اشاره دارند

پنج‌شنبه 29 آبان 1399 - 09:00
مطالعه 5 دقیقه
گهگاه اخباری جدید از تلاش اپل برای توسعه‌ی محصولات واقعیت ترکیبی و واقعیت مجازی منتشر می‌شود. این ‌بار اپل با ثبت دو اختراع، اطلاعاتی در مورد حسگرهای قابل استفاده در این فناوری به ما منتقل می‌کند.
تبلیغات

شاید در آینده هدست‌های واقعیت ترکیبی (VR) و واقعیت مجازی (MR) اپل‌ بتوانند با استفاده از حسگرهای پیشرفته و دقیق، کاربران را در محیط خود غوطه‌ور سازند و درعین‌حال، برای کاربران امکان کنترل دستگاه‌های الکترونیکی اطراف را فراهم کنند.

طرح مفهومی اپل گلس / Apple Glass

ثبت دو اختراع جدید اپل در روز سه‌شنبه، جنبه‌های مختلف هدست یا عینک‌ واقعیت مجازی  یا واقعیت ترکیبی را پوشش می‌دهد. کوپرتینویی‌ها علاوه ‌بر توسعه‌ی پلتفرم‌ ARKit، تصور می‌شود حداقل روی یک دستگاه با قابلیت نصب روی سر کار می‌کنند که می‌تواند قابلیت‌های واقعیت ترکیبی و واقعیت مجازی را برای کاربران فراهم کند.

پتنت جدید اپل برای واقعیت افزوده و ترکیبی

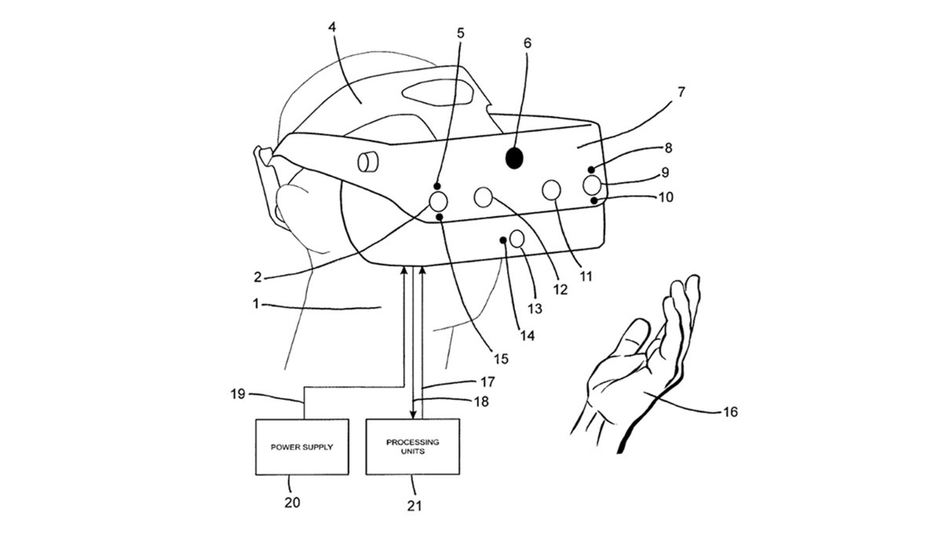
در پتنت ثبت‌شده در اداره ثبت اختراعات ایالات متحده با عنوان «صفحه‌نمایش مستقر برای واقعیت مجازی و ترکیبی با ردیابی موقعیت بدن و محیط کاربر» یک اختراع اساسی را نشان می‌دهد و مجموعه‌ای از حسگرها را توصیف می‌کند که می‌توانند در غوطه‌ور شدن کاربر در واقعیت مجازی یا واقعیت ترکیبی تأثیر بسیاری بگذارد.

طبق گفته‌ی اپل، هدف از غوطه‌وری در یک دنیای مجازی در این اختراع، متقاعد کردن ذهن کاربر است تا جهانی غیر فیزیکی را مانند  واقعیت درک کند؛ واقعیت در اینجا بیشتر به مفهوم درک قابل قبول ذهن کاربر از یک جهان واقعی اشاره دارد. برای سطح ‌بالایی از غوطه‌وری کاربران در دنیای خیالی این هدست‌ها، اختراع جدید ادعا می‌کند ردیابی عناصر مختلف بسیار مهم است؛ از جمله موقعیت سر، وضعیت بدن و محیط اطراف کاربر.

مجموعه حسگرهایی که می‌توانند برای غوطه‌ور کردن کاربران در دنیای مجازی استفاده شوند شامل یک جفت دوربین RGB با فیلترهای برش مادون قرمز، یک جفت حسگر دوربین مونو با فیلترهای مادون قرمز نزدیک، واحد اندازه‌گیری اینرسی، حسگر زمان پرواز، پروژکتور الگوی ذره‌ای و سایر اجزای مرتبط با آن است.

بر اساس این اختراع، این حسگرها به شیوه‌های مختلفی با هم کار می‌کنند. به‌عنوان مثال، دوربین‌ها می‌توانند نمای عبور از واقعیت ‌ترکیبی را فراهم کنند؛ اما همچنین می‌توانند داده‌های تصویری ارائه دهند که برای تحلیل و درک محیط، پردازش می‌شود. تجزیه‌و‌تحلیل محیط اطراف برای قرار دادن اشیاء واقع‌گرایانه در تکنولوژی واقعیت مجازی یا ترکیبی امری ضروری است؛ اما این اختراع همچنین روش‌هایی تعریف می‌کند که یک دستگاه نصب‌شده روی سر بتواند کاربر را بهتر بررسی و او را درک کند. این شامل ردیابی در زمان حرکت واقعی بدن، سَر و موقعیت ‌مکانی کاربر در یک محیط می‌شود. تمام این جمع‌آوری و تجزیه‌و‌تحلیل داده‌ها، قدرت پردازشی مناسبی می‌طلبد و بیش از یک اتصال، می‌تواند به تأخیر زیادی در روند پردازشی منجر شود. برای اهداف غوطه‌ور شدن کاربر، این اختراع اشاره می‌کند که برخی از پردازش‌ها برای تأخیر کم می‌توانند در دستگاه نصب‌شده روی سر انجام شوند و در صورت نیاز به قدرت پردازشی بیشتر، یک دستگاه محاسباتی خارجی قدرت اضافه را تأمین می‌کند. دو نفر از کسانی که در این اختراع نقش داشته‌اند، در گذشته روی چندین اختراع مربوط به تکنولوژی‌های تصویربرداری برای اپل کار کرده‌اند.

پتنت جدید اپل برای واقعیت افزوده و ترکیبی

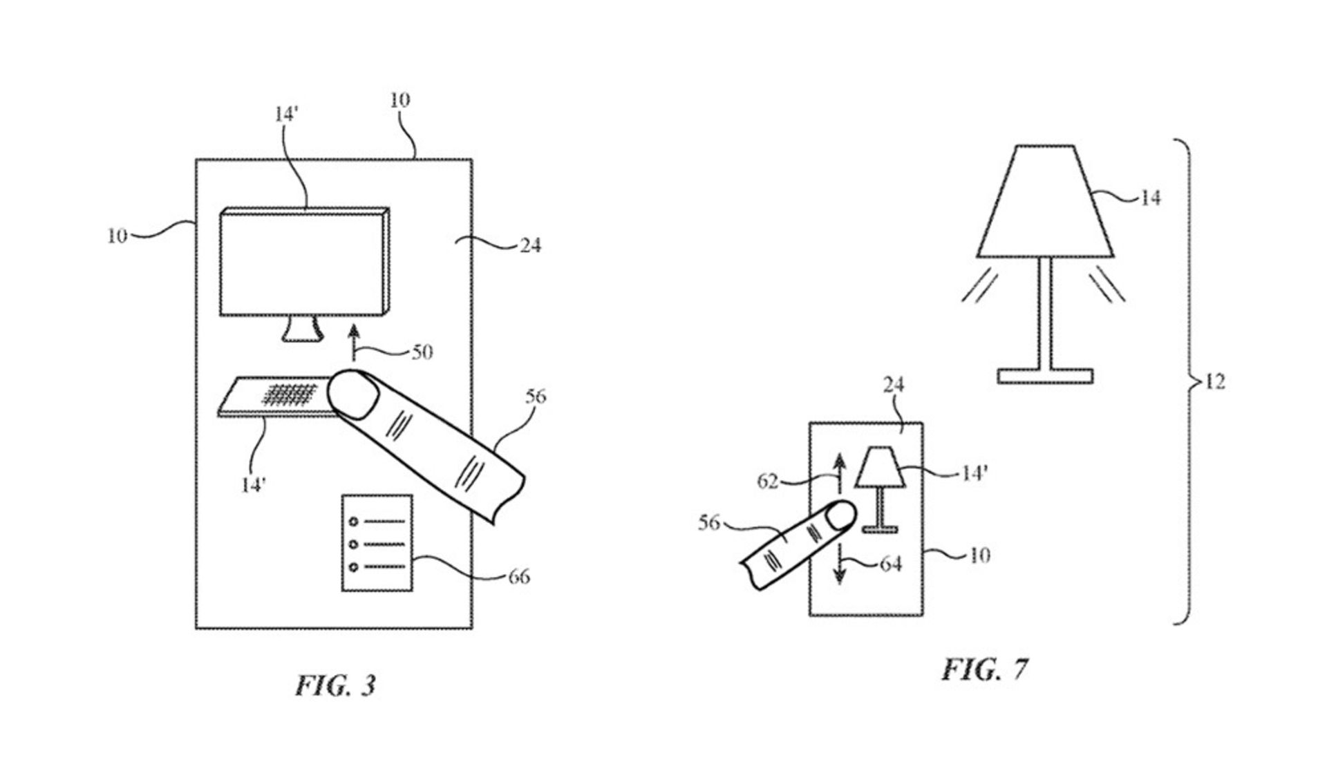
در دومین اختراع که به‌صورت جداگانه‌ ثبت شده است، اپل سیستمی را توصیف می‌کند که روی سر نصب می‌شود تا بتواند وسایل الکترونیکی و رایانه‌های اطراف را کنترل کند. یک دستگاه الکترونیکی، مانند یک دستگاه نصب‌شده روی سر، می‌تواند ورودی و خروجی هم داشته باشد و یک روش بصری برای کاربر فراهم می‌کند تا بتواند اطلاعات دستگاه‌های الکترونیکی خارجی را کنترل و جمع‌آوری کند یا با آن‌ها ارتباط برقرار کند.

دستگاه‌های «ورودی و خروجی» ممکن است شامل حسگرهایی برای شناسایی وسایل الکترونیکی خارجی در محیط کاربر باشند و در نهایت، یک سیستم برای نمایش اطلاعات در مورد دستگاه‌های الکترونیکی خارجی و اجزای ورودی کاربر مانند حسگرهای لمسی، حسگرهای نیرو و حسگرهای دیگر برای جمع‌آوری ورودی لمسی و اشاره از انگشتان کاربر، مورد استفاده قرار می‌گیرد. این دستگاه الکترونیکی ممکن است شامل مدارهای ارتباطی برای ارسال یا دریافت سیگنال از دستگاه‌های الکترونیکی خارجی، بر اساس ورودی دریافت‌شده‌ی کاربر باشد. باتوجه‌به گفته‌های اپل، شناسایی و کنترل اینکه کدام دستگاه‌ها به هدست متصل هستند، بسیار چالش‌برانگیز است؛ به‌طور معمول کاربر باید به یک منوی تنظیمات در هر دستگاه برود و سپس فهرستی از دستگاه‌های خارجی که به آن‌ها متصل است، مشاهده و کنترل کند. برای کاهش و ساده‌سازی این چالش، اپل ادعا می‌کند که دستگاه‌های خارجی می‌توانند در یک تصویر یا دستگاهی جداگانه نمایش داده شوند و بدین‌صورت کاربر می‌تواند دستگاه الکترونیکی خاصی را در یک محیط مشاهده کند و به آن ضربه بزند تا به‌راحتی آن‌ها را برای اهداف خود تنظیم و کنترل کند. کشیدن انگشت از اولین دستگاه الکترونیکی خارجی به دستگاه الکترونیکی دوم در صفحه‌نمایش یا در محیط ممکن است باعث شود مدار کنترل، سیگنال‌های بی‌سیم را حداقل به یکی از اولین یا دومین دستگاه‌های الکترونیکی خارجی بفرستد تا ارتباطی بی‌سیم بین اولین و دوم دستگاه الکترونیکی ایجاد شود.

این سیستم و ثبت اختراع لزوما به دستگاه‌های مرتبط با واقعیت مجازی و ترکیبی محدود نمی‌شود. به‌ عنوان مثال، یک کاربر می‌تواند یک آیپد را نگه دارد و از نمای دوربین خود برای دیدن و کنترل دستگاه‌های مختلف در یک مجموعه‌ی واحد، آن را مدیریت و کنترل کند. بااین‌حال این اختراع مشخص کرده است که دستگاه‌ها و نمایشگرهای نصب‌شده روی سر با حرکات کنترلی در هوا، می‌توانند فرامین دستوری و مدیریتی را انجام دهند؛ به عبارت دیگر، این امر به عملکرد هوم‌کیت (HomeKit) یا خانه‌ی هوشمند، برای اپل گلس یا سایر هدست‌های واقعیت افزوده اشاره دارد.

اپل به‌صورت هفتگی اختراعات بی‌شماری ثبت می‌کند. ثبت اختراع نشان‌دهنده‌ی موضوعات مورد علاقه تحقیق و توسعه شرکت‌ها است؛ اما تضمین‌کننده‌ی ارائه آن در محصول یا خدمات نیست.

نظرات