پتنت جدید اپل به صدای پیشرفته‌ هدست های VR اشاره دارد

جمعه 9 آبان 1399 - 15:00
مطالعه 5 دقیقه
هر از چند گاهی اخباری جدید از تلاش‌های اپل برای توسعه‌ی محصولات واقعیت افزوده و مجازی منتشر می‌شود این‌بار با ثبت اختراع جدید، دیدی جزئی از صدای تولید شده هدست‌های آینده خود را به ما منتقل می‌کند.
تبلیغات

عینک و هدست‌های اپل VR و AR ممکن است قابلیت و سیستمی پشتیبانی ‌کنند که می‌تواند منظره‌های دنیای واقعی را با تصاویر مجازی با سرعت بسیار زیاد ترکیب کند و در عین‌حال ممکن است آن‌ها شامل سیستم صوتی قابل تغییری باشند که طیف وسیعی از حالت‌های مختلف گوش‌دادن (به صدا) را فراهم می‌کند.

مواردی مانند عینک‌های هوشمند، اپل گلس یا هدست واقعیت افزوده و مجازی باید به ارائه تصاویر قانع‌کننده و صدای کافی برای غوطه‌ور کردن کامل کاربران در دنیای خود، متکی باشند.

صدای هدست «Headset audio» 

در بخش صدا، تفاوت‌های بسیاری بین نیازهای صوتی AR و عینک‌های هوشمند و VR وجود دارد؛ اگرچه دو مورد اول (AR و عینک‌های هوشمند)، ممکن است صدای محدودی را بخواهند تا بتوانید صدای محیط را نیز بشنوید؛ اما استفاده از هدست‌های VR، در اکثر مواقع به مسدود کردن صداهای خارجی بستگی دارد و فقط صدای دنیای مجازی را باید ارائه دهد تا بتواند کاربر را در دنیای خیالی و مجازی خود، غرق‌کند.

اگر هدست‌های فعلی نیاز به تهیه‌ی هدفون توسط خود کاربر داشته باشند، می‌توانند این هدف را تا حودودی بر آورده کنند؛ اما آن‌هایی که درون خود، سیستم‌های صوتی، تعبیه شده، دارند به‌‌طور معمول انعطاف پذیری موردنظر کاربر را ارائه نمی دهند.

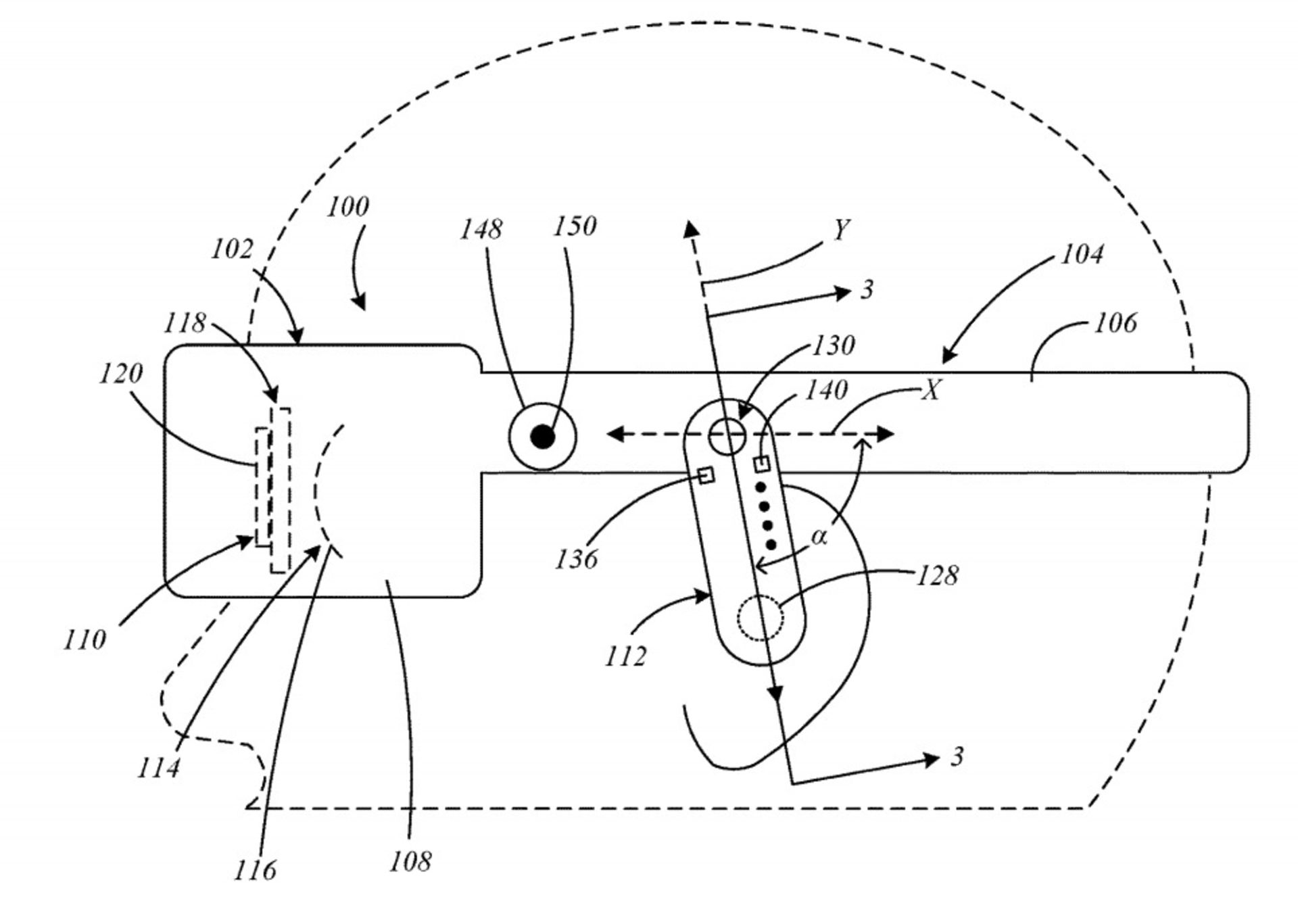
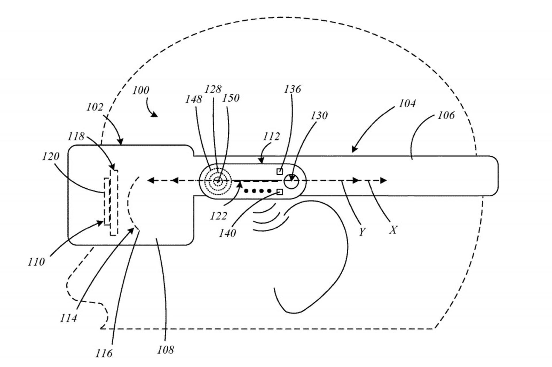
در اختراع ثبت شده توسط اداره ثبت اختراعات ایالات متحده با عنوان «نمایش دستگاه‌های دارای صوت چند حالته»، اپل سیستم‌های دید مستقر در سر را با جزئی صوتی، توصیف می‌کند که می‌تواند بین موقعیت‌های موجود، در ساختار پشتیبانی هدست، جابه‌جا شود.

پتنت هدست VR اپل

اپل پیشنهاد می‌کند که سیستم صوتی، می‌تواند بین حالت فوق شنیداری جابه‌جا شود و «سیستم هدفون داخل گوش» متحرک، در فاصله کمی از گوش‌ها نگه داشته می‌شود و مورد استفاده قرار می‌گیرد و حالتی درون شنیداری را ایجاد می‌کند که می‌تواند صداها را در کانال گوش، قرار ‌دهد. در شرایط فوق شنیداری، سیستم باعث می‌شود که صداهای خارجی با وضوح بیشتری شنیده شوند؛ درحالی‌که نسخه دوم کارهای بیشتری برای جلوگیری از شنیدن صداهای محیطی (خارجی)، برای کاربر انجام می‌دهد.

با جابجایی بین حالت‌ها، اپل، استفاده از یک درایور را در هر گوشی پیشنهاد می‌کند که می‌تواند نحوه صداگذاری آن‌ را ازطریق پورت‌های مختلف تغییر دهد تا با دو موقعیت متفاوت مطابقت داشته باشد. این شامل تنظیم سطح قدرت برای Woofer بسته به نزدیک بودن یا نبودن آن به گوش است؛ حتی مانند عنصری فیزیکی و قابل تعویض، می‌تواند حرکات صدا را تغییر دهد.

پتنت هدست VR اپل

ماژول تولید صدا از یک بازوی کوتاه روی محور استفاده می‌کند که در دورترین نقطه، به محور، قرار دارد و دارای عناصری برای قرار دادن در گوش است و بسته‌ به نحوه چرخش آن، صدا را ازطریق روشی به گوش می‌رساند و ازطریق روشی دیگر صدای خارج از گوش را صورت خودکار تعویض می‌کند.

اپل پیشنهاد می‌کند که عنصر صوتی، همچنین ممکن است برای قرارگیری راحت‌تر به سمت گوش متمایل شود و شامل یک قسمت تلسکوپی نیز باشد.

اصل این سند در ۲۳ اردیبهشت سال گذشته (۱۱ آوریل ۲۰۱۹) ثبت شده است.

دید ترکیبی:

در ثبت اختراع دوم، اپل تلاش می‌کند تا نحوه ارائه هدست AR، اشیاء مجازی را در یک فید ویدیویی در دنیای واقعی بررسی کند که ترکیبی از داده‌های دوربین واقعی و نسخه‌های دیجیتالی تولید شده در شبیه‌ساز پرواز برای کاربران است. ازآنجاکه این کار باید به‌طور دقیق و سریع انجام شود، انجام چنین فرایندهایی برای دستیابی به سطح بالایی از آن، به منابع محاسباتی قابل توجهی نیاز دارد.

در ثبت اختراع با عنوان «روش و دستگاه، ترکیب تصاویر واقعی و مجازی»، اپل روشی را پیشنهاد می‌کند که سیستم می‌تواند تصویر مجازی مخلوط (دنیای واقعی و مجازی) را با حداقل منابع ممکن محاسبه کند. 

این ثبت اختراع تشریح می‌کند که چگونه فید دوربین، می‌تواند مقادیری را برای «پیکسل‌های واقعی» ایجاد کند که نمونه مجازی آن به شکل «پیکسل مجازی» هر کدام از مقادیر، پیکسل مخصوص به خود را دارند و برای انجام محاسبات استفاده می‌شود تا مشخص شود چه مقدار پیکسل نهایی باید استفاده و به کاربر نمایش داده شود.

دو مقدار پیکسل را می‌توان در یک مقدار واحد ترکیب کرد، که می‌تواند بر اساس میانگین وزنی بین مقادیر پیکسل واقعی و مجازی باشد. اپل حساب می‌کند که وزن‌دهی را می‌توان بر اساس مقادیر آلفا یا شفافیت پیکسل‌های واقعی یا مجازی تعیین کرد.

پتنت هدست VR اپل

تعیین مقدار آلفا برای پیکسل واقعی را می‌توان با نمونه‌برداری از تصویر کامل دوربین، ایجاد استنسیل بر اساس تصویر دوربین و تولید «ماتریس پارامتر ماتینگ»، همراه‌با تصویری کوچک و نمونه ایجاد کرد؛ همچنین از تصویر با پارامتر همسان، می‌توان نمونه برداری کرد و به نوبه‌ی خود می‌تواند آلفا را برای مقدار پیکسل، ایجاد کند.

از آلفا می‌توان برای ترکیب کردن مقادیر رنگی پیکسل، برای پیکسلی خاص نیز استفاده کرد که امکان مخلوط کردن رنگ‌های منفرد به‌جای کل مقدار پیکسل را برای خود فراهم می‌کند.

با استفاده از این روش، تصور می‌شود که میزان پهنای باند مورد نیاز برای انتقال تصویر به صفحه‌نمایش می‌تواند «کمتر از یک دهم» داده‌های تولید شده دوربین باشد برسد که پیشرفتی بزرگ در این زمینه خواهد بود.

این حق اختراع در ۲۴ مرداد سال ۱۳۹۷، (۱۴ اگوست ۲۰۱۸)، به ثبت رسیده است.

اپل برنامه‌های ثبت اختراع بی‌شماری را به‌صورت هفتگی ثبت می‌کند؛ اگرچه وجود حق ثبت اختراع، نشان‌دهنده‌ی مناطق مورد علاقه تحقیق و توسعه شرکت‌ها است، اما تضمین کننده‌ی ارائه آن در محصول یا خدمات در آینده نیست.

نظرات