پتنت جدید مایکروسافت خنک‌سازی دستگاه‌های تاشدنی مایکروسافت را نشان می‌دهد

دوشنبه 4 آذر 1398 - 19:40
مطالعه 2 دقیقه
پتنت جدیدی فاش شده که چگونگی خنک‌شدن دو دستگاه تاشوی مایکروسافت یعنی سرفیس دوئو و سرفیس نئو را نشان می‌دهد.
تبلیغات

ماه اکتبر مایکروسافت، سرفیس دوئو و سرفیس نئو که اولین دستگاه‌های تاشوی این شرکت بودند را معرفی کرد. مایکروسافت قول داده که سال آینده این دستگاه‌ها را عرضه کند و به همین دلیل، فعلا اطلاعات کمی در مورد آن‌ها موجود است.

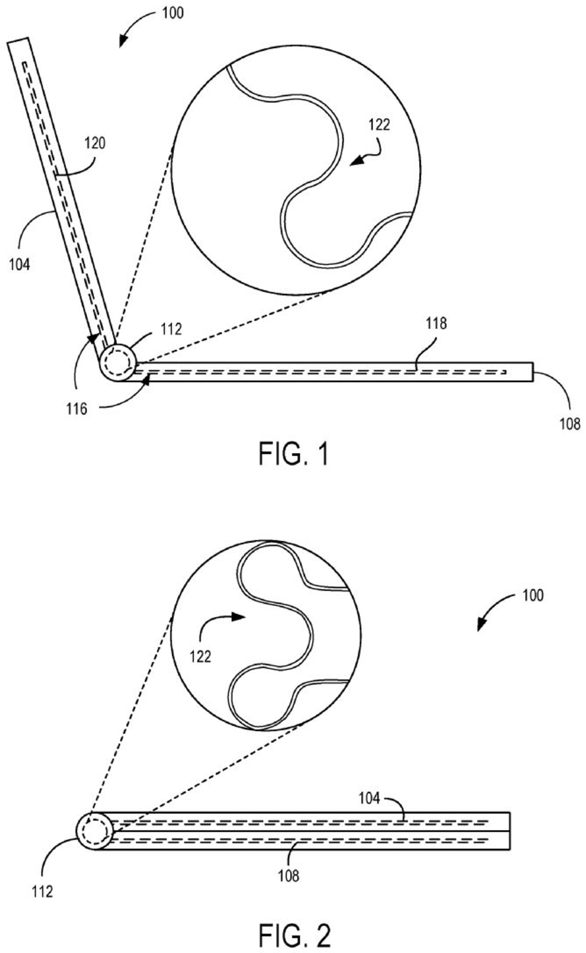
بااین‌حال، پتنت جدیدی که از طریق WindowsUnited منتشرشده، برنامه‌های مایکروسافت برای سیستم خنک‌کنندگی هر دو دستگاه را نشان می‌دهد. مطابق پتنت منتشرشده در تاریخ ۲۱ نوامبر (۳۰ آبان)، مایکروسافت در نظر دارد از محفظه‌ی بخار برای خنک‌سازی استفاده کند؛ اما این بخش را تا لولا گسترده می‌کند تا از خنک‌شدن مساوی در هر دو طرف دستگاه اطمینان حاصل کند.

نمونه‌های افشاشده نشان از دستگاه‌های انتقال حرارتی دارند که شامل یک محفظه‌ی بخار و لولای قابل‌انعطاف است. یکی از نمونه‌ها، وسیله‌ای الکترونیکی را شامل می‌شود که دارای قسمت اول و دومی است که توسط بخشی لولایی به یکدیگر متصل شده‌اند و همچنین یک محفظه‌ی بخار که از بخش اول تا بخش دوم، در امتداد بخش لولایی قرار دارد. لایه‌ی اول محفظه‌ی بخار حاوی تیتانیوم و لایه‌ی دوم تیتانیومی نیز به لایه‌ی اول متصل شده تا محفظه‌ی بخار را تشکیل دهند. سیالی درون محفظه‌ی بخار در جریان است و لایه‌ی سوم تیتانیومی نیز بین لایه‌ی اول و دوم قرار گرفته است. لایه‌ی سوم حاوی چند قابلیت پیکربندی‌شده برای هدایت سیال به‌صورت مویرگی است.
پتنت خنک کننده مایکروسافت

سرفیس‌های دوئو و نئو داغ نمی‌کنند اما برای حفظ عملکرد بهینه در شرایط مختلف، هنوز هم نیاز به خنک‌کننده‌ی مناسب دارند.

نظرات