سرفیس نئو و سرفیس دوئو به دوربینی باکیفیت مجهز خواهند شد

چهارشنبه 1 آبان 1398 - 14:15
مطالعه 6 دقیقه
پانوس پانای اعلام کرده است که دستگاه‌های جدید سرفیس نئو و سرفیس دوئو مایکروسافت به دوربین باکیفیتی مجهز خواهند شد، اما از فناوری 5G بهره‌مند نخواهند بود.
تبلیغات

مایکروسافت مدتی پیش کنفرانسی اختصاصی با محوریت محصولات خانواده‌ی سرفیس برگزار و جدیدترین اعضای این خانواده را معرفی کرد. بدون شک مهم‌ترین محصولات کنفرانس موردبحث، دستگاه‌های دونمایشگره‌ای بودند که نمونه‌های اولیه‌ی ساخته‌شده از آن‌ها به‌خوبی کار می‌کردند. سرفیس نئو (Surface Neo) و سرفیس دوئو (Surface Duo) محصولات جدید مایکروسافت هستند که به‌ترتیب از سیستم‌های عامل ویندوز ۱۰ ایکس (نسخه‌ی ویژه‌ی ویندوز ۱۰ برای دستگاه‌های دونمایشگره) و اندروید استفاده می‌کنند.

معرفی سرفیس نئو و سرفیس دوئو، طرفداران مایکروسافت را بسیار هیجان‌زده کرده است؛ بااین‌حال ازآنجاکه تاریخ عرضه‌ی این محصولات فاصله‌ی زیادی از تاریخ معرفی رسمی آن‌ها دارد، کاربران به بیان برخی حدس و گمان‌ها درمورد محصولات جدید موردبحث پرداخته‌اند. مایکروسافت هنگام رونمایی محصولات جدیدش در خبری تعجب‌برانگیز اعلام کرد که عرضه‌ی آن‌ها را برای اواخر ۲۰۲۰ تعیین کرده است.

مایکروسافت سرفیس نئو / Microsoft Surface Neo

سرفیس نئو

ردموندی‌ها تاکنون به‌طور دقیق به بسیاری از مشخصات محصولات جدیدشان اشاره‌ای نکرده‌اند؛ بنابراین هنوز هم گمانه‌زنی‌هایی درمورد برخی مشخصات سرفیس نئو و سرفیس دوئو وجود دارد. یکی از موارد موردبحث در بین کاربران، احتمال بهره‌مندی دستگاه‌های جدید مایکروسافت از نسل پنجم شبکه‌های ارتباطی (5G) بود. جدیدترین اخبار رسمی حاکی از آن هستند که 5G قرار نیست در سرفیس نئو و دوئو حضور داشته باشد.

با درنظرگرفتن تاریخ عرضه‌ی تعیین‌شده از سوی مایکروسافت برای سرفیس نئو و سرفیس دوئو، بسیاری از کاربران مطمئن بودند که این دو محصول قرار است از 5G بهره‌مند باشند؛ زیرا در سال آینده‌ی میلادی تراشه‌های 5G بیشتری روانه‌ی بازار خواهند شد و گوشی‌های بیشتری از مزیت‌های نسل جدید شبکه‌های ارتباطی استفاده خواهند کرد.

بااین‌حال پانوس پانای، مدیر واحد سخت‌افزار مایکروسافت، به‌صورت رسمی اعلام کرد که دو محصول موردبحث از فناوری 5G پشتیبانی نمی‌کنند. درواقع اهالی ردموند پس از بررسی‌هایشان متوجه شده‌اند که بهتر است سرفیس نئو و سرفیس دوئو را به شبکه‌ی 4G LTE مجهز کند.

پانای در جریان برگزاری رویدادی در شهر برلین اعلام کرد که مایکروسافت در ابتدا قصد داشته فناوری 5G را به محصولات موردبحث بیاورد؛ اما این شرکت با درنظرگرفتن نقشه‌ی راه آغازبه‌کار فناوری 5G در نقاط مختلف دنیا از تصمیمش منصرف شده است.

مایکروسافت می‌گوید، روند گسترش 5G درحال‌حاضر به‌صورتی است که ممکن است حتی تا زمان عرضه‌ی سرفیس نئو و سرفیس دوئو نیز دردسترس همه قرار نداشته باشد. پانای اعلام کرده است، سرفیس نئو و سرفیس دوئو هنگام عرضه تنها از شبکه‌ی 4G LTE پشتیبانی خواهند کرد؛ اما احتمال اضافه‌شدن پشتیبانی از فناوری 5G به آن‌ها در آینده وجود دارد. اینکه ردموندی‌ها چگونه می‌خواهند در آینده فناوری 5G را به محصولات عرضه‌شده‌شان اضافه کنند، جای سؤال دارد.

Surface Duo / سرفیس دوئو

سرفیس دوئو

پانوس پانای در اظهاراتش مدعی شده است که سرفیس‌های جدید دونمایشگره دارای «دوربینی خوب» خواهند بود. درحال‌حاضر به‌طور دقیق نمی‌دانیم که منظور پانای از دوربین خوب چیست. از زمان معرفی سرفیس‌های دونمایشگره، شمار زیادی از کاربران مدعی شده بودند که این دستگاه‌ها دوربین خوبی ندارند؛ اما ظاهرا پانای ادعاهای مطرح‌شده توسط این افراد را رد می‌کند.

به‌نظر می‌رسد که هیچ‌یک از دستگاه‌های موردبحث قرار نیست به دوربین پشتی مجهز شوند و به‌جای آن دوربینی سلفی خواهند داشت که با چرخاندن دستگاه می‌تواند در نقش دوربین اصلی ظاهر شود. البته فراموش نکنید که دستگاه‌های نشان‌ داده شده در مراسم مایکروسافت، نسخه‌های نهایی نیستند و پانوس پانای می‌گوید طراحی آن‌ها احتمال دارد از جهاتی دست‌خوش تغییر شود. بااین‌حال پیش‌تر شاهد نحوه‌ی عملکرد دوربین سرفیس نئو در پتنت جدید مایکروسافت بوده‌ایم.

مایکروسافت تاکنون ادعاهای متعددی را درمورد سرفیس نئو و سرفیس دوئو مطرح کرده است؛ اما تاکنون هیچ‌یک از کارشناسان حوزه‌ی فناوری به این محصولات دست پیدا نکرده‌اند تا آن‌ها را زیر ذره‌بین ببرند.

گرچه نمونه‌های اولیه‌ی حاضر در مراسم مایکروسافت به‌خوبی کار می‌کردند، اما هنوز هم چیزهای زیادی درمورد سرفیس نئو و سرفیس دوئو نمی‌دانیم و بسیاری از مشخصات آن‌ها برای‌مان تبدیل به علامت سؤال شده است.

مایکروسافت فعلا نمی‌خواهد جزئیات دقیق مربوط به این دستگاه‌ها را به‌اشتراک بگذارد؛ زیرا هنوز تا عرضه‌ی رسمی آن‌ها فاصله‌ی زیادی داریم و در این بین ممکن است ردموندی‌ها بخواهند تغییرات مهمی را در سرفیس‌های جدید اعمال کنند.

پانوز پانای مایکروسافت

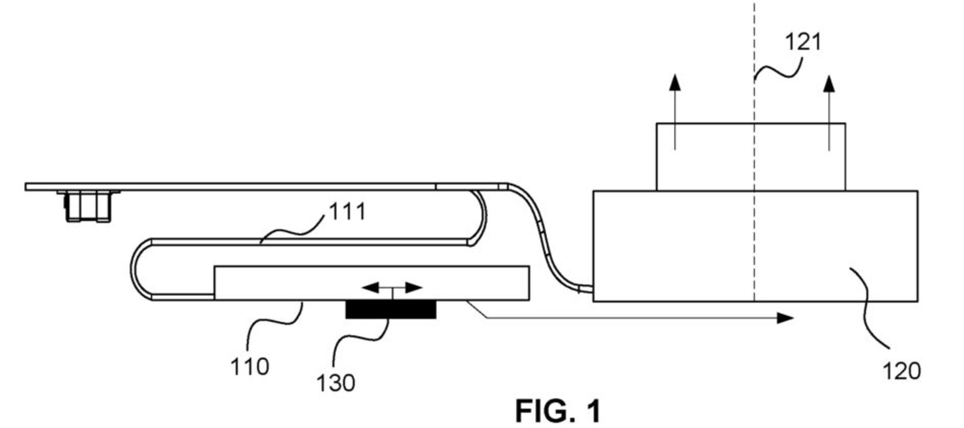
با همه‌ی این‌ها ساعاتی پیش پتنت جدیدی از سوی مایکروسافت ثبت شد. در پتنت جدید این شرکت شاهد ماژول دوربین باریکی هستیم که احتمالا به‌طور ویژه برای سرفیس نئو و سرفیس دوئو طراحی شده است. درواقع از این دوربین می‌توان در محصولی استفاده کرد که ضخامت زیادی ندارد. 

در بخش توضیحات پتنت جدید مایکروسافت آمده است:

این ابزار تصویربرداری شامل ساختاری متشکل از بخش‌های فعال و غیرفعال است. یک حسگر تصویر و یک ماژول اپتیکال در این ساختار، متحرک هستند. ماژول اپتیکال برای قراگیری در حالت فعال، در امتداد یک محور اپتیکال به‌حرکت درمی‌آید و حسگر تصویر نیز به‌صورت افقی در زیر ماژول اپتیکالِ بازشده حرکت می‌کند. برای بازگشت به حالت غیرفعال، حسگر تصویر مسیرِ طی‌شده را بازمی‌گردد تا فضا برای ماژول اپتیکال به‌منظور بازگشت به مکان اولیه باز شود.

در پتنت جدید مایکروسافت شاهد ابزاری برای تصویربرداری هستیم که ساختاری شامل بخش‌های فعال و و غیرفعال است. مایکروسافت همچنین در پتنتش یک حسگر تصویر و یک ماژول اپتیکال را نیز نشان داده است. نکته‌ی جالب ماجرا این است که حسگر و ماژول یادشده متحرک هستند.

پتنت دوربین مایکروسافت

پتنت جدید مایکروسافت

براساس اطلاعات رسمی، سرفیس نئو مایکروسافت به دو نمایشگر با اندازه‌ی ۹ اینچ مجهز شده است و در طرفین راست و چپ دستگاه حاشیه‌ای ۵/۶ میلی‌متری دیده می‌شود. این محصول ۶۵۵ گرم وزن دارد و طبق ادعای پانای به باریک‌ترین LCD ساخته‌شده تاکنون مجهز است. از طرفی دیگر سرفیس دوئو را داریم؛ محصولی که از زبان طراحی سرفیس نئو بهره می‌گیرد و از دو نمایشگر ۵/۶ اینچ بهره‌مند است. دو نمایشگر دستگاه ازطریق لولایی ۳۶۰ درجه به‌هم متصل شده‌اند. تاکنون جزئیات سخت‌افزاری مربوط به دوئو منتشر نشده است؛ اما طبق ادعای رسانه‌ی وایرد، این محصول از تراشه‌ی اسنپدراگون ۸۵۵ کوالکام استفاده می‌کند.

دیدگاه شما کاربران زومیت در این رابطه چیست؟

قیمت به‌روز، مشخصات فنی و هر اطلاعاتی که برای خرید ارزان‌ و آگاهانه‌ی گوشی هوشمند نیاز دارید را در بخش محصولات زومیت بیابید. در این بخش، علاوه‌بر مشخصات فنی دقیق و پاسخ به سوالات شما، امکان مقایسه‌ی دو یا چند محصول درکنار گالری تصاویر رسمی محصولات دردسترس شما خواهد بود. شما می‌توانید برای اطلاع از آخرین قیمت گوشی سامسونگ، قیمت گوشی شیائومی، هواوی و آیفون‌‌های اپل از بخش محصولات زومیت استفاده کنید.

نظرات