پتنت های جدید اپل؛ دوربین لایدار و ادراک لمسی هدست‌ واقعیت افزوده

پنج‌شنبه 6 آذر 1399 - 09:00
مطالعه 6 دقیقه
گهگاه اخباری جدید از تلاش اپل برای توسعه‌ی محصولات واقعیت افزوده منتشر می‌شود. این ‌بار اپل با ثبت دو اختراع، اطلاعاتی در مورد دوربین‌های لایدار و ادراک لمسی این محصولات به ما منتقل می‌کند.
تبلیغات

واقعیت افزوده و واقعیت مجازی دو تکنولوژی با پتانسیل بسیار بالا هستند؛ اما متأسفانه با اینکه مدت‌زمان زیادی از عرضه‌ی اولین دستگاه‌ها می‌گذرد، محصولات کنونی با ارائه‌ی قابلیت‌های ناقص یا در بعضی مواقع جلوتر از زمان خود، نتوانسته‌اند از این پتانسیل عظیم استفاده کنند و اغلب به سهم بسیار ناچیز از این صنعت رضایت داده‌اند. بر اساس اختراع جدید اپل، هدست واقعیت افزوده یا یک آیفون می‌تواند از نور صفحه‌نمایش برای ردیابی حرکت‌ هر سطحی استفاده کند و اختراع دیگر، نوعی سیستم لمسی را نشان می‌دهد که می‌تواند جزئیات لمس کاربر را درک و بررسی و برای بهبود تجربه‌ی غوطه‌وری کاربر در دنیای هدست واقعیت افزوده، آن را شبیه‌سازی کند.

قابلیت AR آیپد پرو 2020

مدت‌ها است که گفته می‌شود اپل در حال کار روی نوعی هدست قابل نصب روی سر مبتنی بر تکنولوژی VR یا AR است و گزارش‌های مختلف و پرونده‌های ثبت اختراع متعدد این موضوع را اثبات می‌کنند و نشان می‌دهند اپل برای عرضه‌ی این نوع از محصولات بسیار مصمم است. در دو پتنت ثبت‌شده در اداره ثبت اختراعات ایالات متحده در روز سه‌شنبه، اپل راه‌حل‌هایی برای عملکرد پردازشی این نوع هدست‌ به‌ همراه حسگر لایدار ارائه می‌د‌هد. یکی از مزایای هدست واقعیت افزوده، استفاده از حسگرهای دوربین است که معمولا برای عکس‌برداری از محیط و برای تشخیص اشیاء استفاده می‌شود و از همان سخت‌افزار می‌توان برای پیگیری آن اشیاء و تغییر موقعیت واقعی آن‌ها نسبت به هدست استفاده کرد.

مزایای ردیابی اشیاء برای تکنولوژی واقعیت افزوده، معمولا محدود به این است که کاربر بتواند پوشش‌ گرافیکی دیجیتال را روی فیدهای ویدئویی در اطراف جسم اعمال کند. این می‌تواند شامل شاخص‌های وضعیت برنامه‌های خاصی در یک کنترل‌کننده باشد که در نمای واقعی مشاهده نمی‌شود. بااین‌حال منابع مورد نیاز برای شناسایی و ردیابی اشیاء و تعیین جهت‌گیری کامل آن‌ها، می‌توانند یک سیستم پردازشی بسیار سنگین باشد و برای ارائه‌ی یک تجربه‌ی بهینه، به پردازش‌های گسترده و قدرتمند نیاز خواهد بود و معمولا شرکت‌ها از هر روشی برای کاهش استفاده از منابع استقبال می‌کنند. طبق شایعات گذشته، اپل برای پردازش‌های سنگین عینک‌ واقعیت افزوده‌اش از آیفون به‌عنوان نیروی پیشرانه و کمکی استفاده می‌کند، این امر بیشتر برای عینک واقعیت افزوده کاربرد خواهد داشت که نیازمند وزن کم و طراحی ظریف است.  

پتنت اپل مرتبط با واقعیت افزوده

در اختراع ثبت‌شده با عنوان «کنترل‌کننده AV و VR با دوربین رویداد» اپل این ایده را ارائه می‌دهد که ممکن است سیستم استفاده‌شده در دوربین‌ها، لزوما نیازی به ردیابی تمام پیکسل‌های شیء ردیابی‌شده در تمامی زمان‌ها نداشته باشد؛ در عوض می‌توان تعداد این پیکسل‌ها را کاهش داد که در آن صورت به‌طور قابل ملاحظه‌ای به کمترین حد ممکن از بررسی‌های مقدماتی نیاز خواهد بود. اپل در این سیستم، به‌نوعی به ‌دنبال بهره‌وری بیشتر و استفاده‌ی کم‌تر و بهینه‌تر از پردازش‌ سخت‌افزاری با استفاده از نوع خاصی از حسگرهای ساطع‌کننده پالس ‌نوری است.

اپل در این اختراع پیشنهاد می‌کند که می‌توان پیکسل‌های خاصی در تصویر انتخاب کرد که مربوط به یک شیء ردیابی‌شده باشد و به نوبه‌ی خود، امکان خواندن شدت نور و سایر ویژگی‌ها را فراهم می‌کند. در صورت حرکت یا تغییر وضعیت دوربین یا شیء، شدت نور برای آن تعداد پیکسل فراتر از یک حد تعیین‌شده تغییر می‌کند و باعث می‌شود کل سیستم با استفاده از منابع بیشتری جست‌وجوی تغییر و حرکت شیء را شروع کند. با توجه ‌به اینکه این سیستم از نور استفاده می‌کند، امکان دارد که به‌ جای تلاش برای شناسایی جسم، سیستم به‌سادگی بتواند همان نقاط نور را که ساطع شده است جست‌وجو کند.

اگر اکثر نقاط نوری روی جسم وجود داشته باشد و سیستم فقط آن نقاط را ردیابی کند، می‌تواند از منابع بسیار کمی برای تعیین موقعیت و تغییر جهت استفاده کند و طبیعتا به قدرت پردازشی کمتری نیاز خواهد داشت. این نقاط نور می‌توانند به‌راحتی بازتابی از نور محیط در محفظه‌ی یک شیء باشند؛ اما به‌ نظر می‌رسد اپل در نظر دارد از سایر منابع نوری تولیدشده در جسم، مانند نشانگرهای LED یا صفحه‌نمایش‌ نشان‌دهنده‌ی الگو استفاده کند. با استفاده از حالت دوم، می‌توان تا زمانی‌که صفحه‌نمایش قابل مشاهده باشد، داده‌های موقعیت و جهت‌گیری کافی را به سیستم منتقل کرد. در این سیستم، نقاط مرجع مبتنی بر نور لزوما نباید برای نور مرئی ایجاد شوند؛ زیرا اپل پیشنهاد می‌کند که الگوی روشنایی می‌تواند شامل طول موج‌های نامرئی باشد. این یک سیستم بدون مانع است که توسط کاربران دیده نمی‌شود و به‌طور بالقوه‌ می‌توان از طول موج‌های مختلف نور استفاده کرد تا به سیستم اجازه دهد با چندین کاربر یا اشیاء ارتباط برقرار کند.

 با توجه ‌به اینکه این سیستم می‌تواند از نور مرئی استفاده کند، اپل از فناوری دیگری که قبلا در محصولات خود استفاده کرده است، برای این سیستم استفاده می‌کند. لایدار (LiDAR) همان چیزی است که اپل برای این کار در نظر گرفته و سیستم مشابه قبلا در دوربین TrueDepth فیس آی‌دی و در ماژول دوربین پشتی آیفون ۱۲ پرو استفاده شده است. تکنولوژی یادشده، شامل انتشار پالس‌ها و نقاط کوچک نور مادون قرمز است که به یک حسگر تصویربرداری بازتاب می‌شوند و برای نقشه‌برداری از عمق اجسام استفاده می‌شوند. جسم به‌تنهایی نور خاصی ساطع نمی‌کند؛ اما بازتاب‌های نقطه‌ی نور، همان کار را انجام می‌دهند و می‌توانند از مزیت‌هایی برای ردیابی محصولات غیر الکترونیکی مانند دست کاربر استفاده شود. این اختراع را پیتر مایر در ۳۱ ژانویه ۲۰۱۹ (دی ۱۳۹۸) به ثبت رسانده است.

پتنت اپل مرتبط با واقعیت افزوده

اختراع دوم اپل بر جمع‌آوری اطلاعات، تمرکز کرده است و به‌طور خاص شامل چگونگی دستیابی سیستم به اطلاعاتی است در مورد آنچه کاربر لمس می‌کند.

به‌طور معمول یک محصول دیداری و شنیداری مبتنی بر واقعیت افزوده و واقعیت مجازی می‌تواند از سایر عناصر معرفی‌شده برای ارائه‌ی توهم واقعی بودن اشیاء دیجیتال به کاربر استفاده کند. چنین سیستمی به‌صورت هوشمند احساسات کاربر هنگام لمس یک مورد در دنیای واقعی را در دنیای خیالی هدست‌ شبیه‌سازی می‌کند تا به کاربر اجازه دهد با استفاده از ابزار بازخورد لمسی، این تجربه را به‌صورت واقعی در هدست‌ واقعیت افزوده احساس کند.

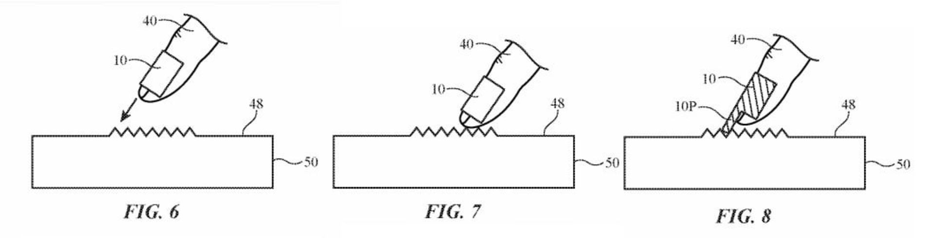
در اختراع ثبت‌شده با عنوان «سیستم‌های کامپیوتری با دستگاه‌های انگشتی برای نمونه‌برداری از ویژگی‌های اشیا اپل» کوپرتینویی‌ها استفاده از دستگاه‌های مبتنی بر بازخورد لمسی (Finger-worn) را پیشنهاد می‌کنند که به دو روش استفاده می‌شوند. حسگرهای موجود در هر یک از این نوع دستگاه‌ها، قادر به خواندن تأثیرات واردشده به سطح یک جسم واقعی هستند که کاربر آن را لمس می‌کند و کانتور سطح، بافت‌ها، رنگ‌ها و الگوهای جسم، ویژگی‌های صوتی و وزن را شامل می‌شود.

هنگامی که این سیستم با عناصر دیگر، مانند دوربین‌های نمایشگرهای نصب‌شده روی سر (HMD) ترکیب شود، می‌تواند داده‌های زیادی درباره‌ی تغییرات یک شیء جمع‌آوری کند و آن را به کاربر ارائه دهد. حسگرهای یادشده می‌توانند شامل فشارسنج، حسگر اولتراسونیک، حسگرهای تماس مستقیم، دماسنج‌ها، حسگرهای دامنه، شتاب‌سنج‌ها، ژیروسکوپ‌ها، قطب‌نما و حسگرهای خازنی باشند.

این سیستم در انتهای انگشت دستان استفاده می‌شود؛ اما کاربران همچنان می‌توانند احساس لمس اشیاء را تجربه کنند؛ زیرا پد انگشت بدون مانع باقی خواهد ماند. حسگرها می‌توانند اثر تماس با برآمدگی‌های خارج از نوک انگشت یا تغییرات انگشت کاربر در اثر لمس جسم را تشخیص دهند و داده‌های جمع‌آوری‌شده در مورد شیء می‌تواند برای استفاده بعدی توسط سیستم ذخیره و ثبت و به‌طور بالقوه به‌عنوان بخشی از کتاب‌خانه‌ی گسترده‌تری از داده‌ها به اشتراک گذاشته شود؛ سپس می‌توان از این اطلاعات با عناصر بازخورد لمسی برای شبیه‌سازی احساس لمس اشیاء واقعی، به کاربر یا سایر کاربران استفاده کرد. این اختراع را پل وانگ در ۲۲ آوریل ۲۰۱۹ به ثبت رسانده است.

اپل به‌صورت هفتگی اختراعات بی‌شماری ثبت می‌کند. ثبت اختراع نشان‌دهنده‌ی موضوعات مورد علاقه تحقیق و توسعه شرکت‌ها است؛ اما تضمین‌کننده‌ی ارائه آن در محصول یا خدمات نیست.

نظرات