لری پیج در استارتاپ های تولید خودرو های پرنده سرمایه گذاری می کند
لری پیج که پس از تاسیس هولدینگ آلفابت به عنوان مدیر عامل این شرکت فعالیت میکند، به دلیل علایق شخصی در استارتاپهایی با موضوع خودروهای پرنده نیز سرمایهگذاری کرده است. طبق گزارشی که بخش تجارت بلومبرگ منتشر کرده، پیج در دو استارتاپ مجزای فعال در این حوزه، به صورت شخصی سرمایهگذاری کرده است.
یکی از استازتاپهایی که پیج در آنها سرمایهگذاری کرده، Zee.Aero نام دارد که گفته شده مبلغی حدود ۱۰۰ میلیون دلار توسط پیج از سال ۲۰۱۰ به این شرکت تزریق شده است. دیگر استارتاپ معرفی شده در این خبر، Kitty Hawk نام دارد که پیج از سال گذشته به عنوان سرمایهگذار آن فعالیت میکند. این دو شرکت به صورت کاملا مجزا بر روی پروژههای اختصاصی خود کار میکنند.
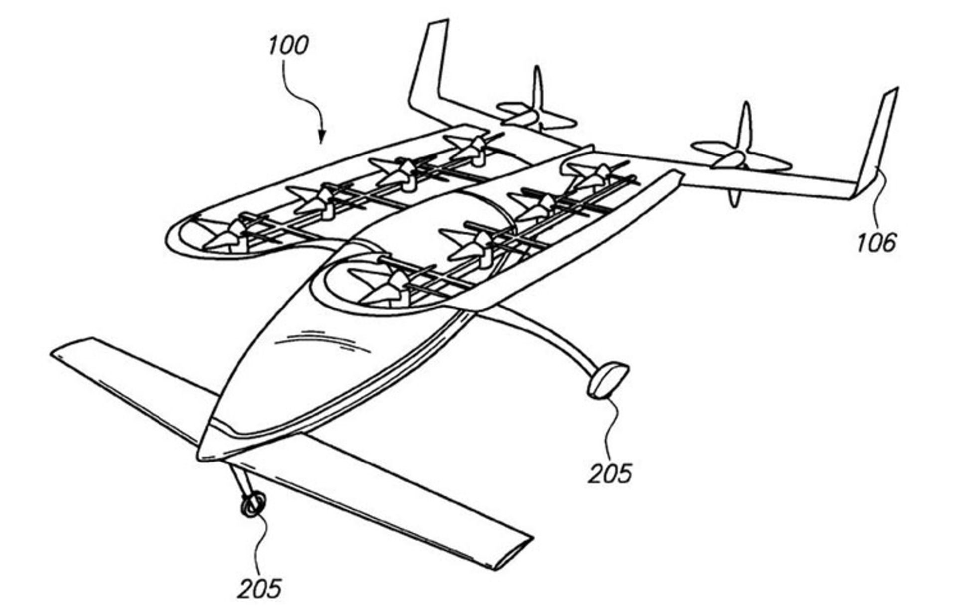
Zee.Aero آزمایشات نمونههای اولیهی خود را در فرودگاهی با فاصلهی یک ساعته از مقر اصلی گوگل در مانتین ویو انجام میدهد. طبق گزارش بلومبرگ، شرکت زی.آئرو مهندسان و طراحانی را از شرکتهای ناسا، بوئینگ و اسپیسایکس استخدام کرده و تا کنون دو نمونهی اولیهی دو سرنشین از محصولات خود را آزمایش کرده است. یکی از این نمونهها مانند یک هواپیمای کوچک معمولی است و دیگری دارای ملخهایی است که به سمت پایین قرار گرفتهاند. طراحی پتنتی که در سال ۲۰۱۲ از این شرکت منتشر شد نیز به همین توصیفات شبیه است. همان طور که در تصویر مشخص است، این پتنت از یک بدنهی مرکزی باریک به همراه یک سری از ملخهای جانبی تشکیل شده است. توضیحاتی که به همراه این پتنت منتشر شده بود، ادعا کرده بود که این دستگاه توانایی پرواز به صورت عمودی را نیز دارد و آن را به عنوان یک هواپیمای امن، آرام، کارآمد و جمع و جور که کنترل آن نیز آسان است، معرفی کرده بود. البته این پتنت شباهتی به خودروی پرنده ندارد اما میتواند نگرشی جدید در محصولات پرواز شخصی ایجاد کند.
کیتی هاک استارتاپ دیگری است که پیج در آن سرمایهگذاری کرده و کوچکتر از زی.آئرو است. محصول این استارتاپ شبیه به یک کوادکوپتر غولپیکر است. برخی از مهندسان این شرکت، از شرکت AeroVelo آمدهاند که در سال ۲۰۱۳ موفق به تولید هلیکوپتری شده بود که با کنترل مستقیم انسان کار میکرد و میتوانست در حدود یک دقیقه پرواز کند. کیتیهاک تنها شرکتی نیست که از طراحی کوادکوپترها برای ساخت خودروی پرنده استفاده میکند، شرکتهایی مانند Ehang در چین نیز تا کنون توانستنهاند نمونههایی از این خودروهای پرنده تولید کنند.
سرمایهگذاری پیج در این بازار و این استارتاپها، میتواند به دلیل علاقهی شخصی باشد و یا ممکن است تنها یک سرگرمی سرمایهدارانه باشد. به هر حال شرکت ها و افراد زیادی (مانند شرکتهای Aeromobil و Velocopter) در دنیا برای ساخت خودروهای پرنده و هواپیماهای شخصی تلاش میکنند. هرچند نمونههایی که تا کنون تولید شدهاند، بیش از آن که کارایی یک خودرو را داشته باشند، یک هواپیما بودهاند.
نظر شما چیست؟ آیا سرمایهگذاری بزرگان تکنولوژی در صنعت خودروهای پرنده، میتواند نویدبخش دورانی باشد که این وسایل به عنوان وسایل نقلیهی اصلی توسط افراد استفاده شوند؟