متخصصین هواوی دست‌به‌کار شدند؛ این فناوری جدید تحریم‌های آمریکا را دور می‌زند

شنبه 3 اردیبهشت 1401 - 09:45
مطالعه 5 دقیقه
متخصصان هواوی روش جدیدی برای ساخت تراشه ابداع کرده‌اند که ترکیبی از فناوری پشته‌سازی ۲٫۵ بعدی و سه‌بعدی محسوب می‌شود و ظاهراً دور زدن تحریم‌های آمریکا را ممکن می‌کند.
تبلیغات

آن‌طور که Tom's Hardware می‌نویسد هواوی (Huawei) اخیراً پتنت یک فناوری جدید تولید تراشه بر پایه‌ی روش پشته‌سازی را ثبت کرده و این فناوری را توسعه داده است. هواوی می‌گوید فناوری پشته‌سازی جدیدش نسبت‌ به فناوری‌های پشته‌سازی سنتی بسیار کم‌هزینه‌تر است.

فناوری مورد اشاره به هواوی کمک می‌کند با استفاده از لیتوگرافی‌های قدیمی‌تر پردازنده‌های سریع‌تری بسازد و از لحاظ تئوری تحریم‌های ایالات متحده را دور بزند.

سؤال مهمی که پیش می‌آید این است که آیا هواوی واقعاً می‌تواند روش نوآورانه‌اش را وارد مرحله‌ی عملیاتی کند یا خیر؟ کارخانه‌های تراشه‌سازی بدون دریافت مجوز رسمی از دولت ایالات متحده نمی‌توانند هیچ‌گونه تراشه‌ای برای هواوی بسازند. بااین‌حال حداقل هواوی معتقد است که توانایی تولید تراشه را دارد.

اهمیت فناوری جدید در افزایش قدرت پردازنده حتی به هنگام استفاده از لیتوگرافی‌های قدیمی‌تر است؛ چون لیتوگرافی‌های قدیمی‌تر تحت تحریم‌های شدید نیستند.

به دلیل قرار گرفتن نام هواوی و بازوی تراشه‌ساز این شرکت یعنی های‌سلیکون در فهرست سیاه ایالات متحده، بسیاری از شرکت‌ها مجبور شدند ارتباطات تجاری خود را با هواوی و های‌سیلیکون قطع کنند. درنتیجه‌ی این اتفاق هر شرکتی که به‌دنبال همکاری با هواوی باشد باید حتماً از دولت آمریکا مجوز بگیرد چون تولید تمام قطعات نیمه‌هادی با فناوری‌هایی انجام می‌شود که در این کشور توسعه داده شده‌اند. در همین راستا هواوی نمی‌تواند به لیتوگرافی‌های مدرن نظیر N5 شرکت TSMC دسترسی پیدا کند و برای ادامه‌ی تولید تراشه باید سراغ لیتوگرافی‌های قدیمی برود.

هواوی به‌منظور افزایش تعداد ترانزیستور در تراشه و افزایش قدرت پردازشی می‌تواند سراغ روش‌های نوآورانه‌ی بسته‌بندی تراشه، مدل چیپلت و به‌طور کلی پشته‌سازی سه بعدی برود و تراشه‌هایی بسازد که عملکردی رقابتی در بازار داشته باشند. همین موضوع دلیل سرمایه‌گذاری هواوی برای توسعه‌ی فناوری‌های جدید را توضیح می‌دهد.

یکی از مدیران بالارتبه‌ی هواوی می‌گوید لیتوگرافی‌های مدرن با سرعت نسبتاً کمی پیشرفت می‌کنند، بنابراین طراحی چند چیپلتی در پکیج‌های ۲٫۵ بعدی یا سه بعدی راهکاری برای افزایش تعداد ترانزیستور در تراشه‌ها است. گفته‌های هواوی مشخصا اعلام می‌کند این شرکت به‌دنبال استفاده از فناوری پشته‌سازی بدون اتکا بر فرایند TSV (یا شاید روشی مشابه) برای تولید تراشه‌های آینده‌اش است.

مشخص نیست که هواوی برای تولید تراشه با این فناوری به ابزارهایی که تحت تحریم آمریکا هستند نیاز پیدا می‌کند یا خیر. این‌که به‌زودی شاهد تولید تراشه برای هواوی خواهیم بود یا نه، سؤالی است که مشخص شدن جوابش به گذر زمان نیاز دارد.

فناوری‌های نوآورانه‌ی بسته‌بندی تراشه و اتصال داخلی بین چند تراشه در سال‌های آینده بیش از پیش موردتوجه قرار خواهند گرفت. به‌همین‌دلیل، تمام تولیدکنندگان بزرگ تراشه روش‌هایی اختصاصی برای ساخت چیپلت طراحی کرده‌اند.

تراشه‌سازان به‌طور معمول سراغ استفاده از دو روش بسته‌بندی و اتصال داخلی می‌روند: بسته‌بندی ۲٫۵ بعدی و بسته‌بندی سه بعدی. بسته‌بندی ۲٫۵ بعدی، در بین چیپلت‌هایی که کنار هم قرار گرفته‌اند ارتباطی با چگالی و پهنای باند بالا ایجاد می‌کند.

از طرفی استفاده از بسته‌بندی سه بعدی به‌معنی قرار دادن چیپلت‌ها روی هم است که درنتیجه‌ی آن ابعاد نهایی تراشه کاهش می‌یابد. البته فناوری بسته‌بندی سه بعدی نیازمند سیم‌کشی پیچیده است چون چیپلت‌ها باید با هم در ارتباط باشند و انرژی موردنیاز باید ازطریق TSVها به چیپلت برسد.

به‌مدت بیش از یک دهه است که تراشه‌سازان از TSV در تولید تراشه استفاده می‌کنند، بااین‌حال همین TSVها باعث پیچیده‌تر شدن و افزایش هزینه‌ی فرایند بسته‌بندی می‌شوند. هواوی با علم به این موضوع تصمیم گرفته روشی جایگزین بدون وابستگی به TSV توسعه دهد.

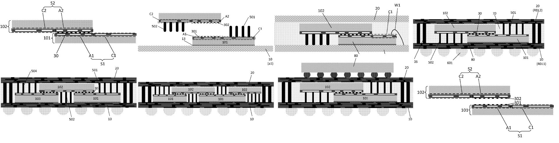
آنچه متخصصان هواوی طراحی کرده‌‌اند اساسا ترکیبی از بسته‌بندی ۲٫۵ بعدی و بسته‌بندی سه بعدی محسوب می‌شود. در روش هواوی دو چیپلت در داخل پکیج با هم هم‌پوشانی دارند تا ابعاد نهایی پکیج کاهش یابد، اما این چیپلت‌ها برخلاف روش عادی بسته‌بندی سه بعدی به‌طور کامل روی هم قرار نمی‌گیرند.

متخصصان هواوی می‌گویند در روش جدید این شرکت، بخش‌هایی از چیپلت‌ها که با هم هم‌پوشانی دارند باعث ایجاد ارتباطی منطقی می‌شوند. در همین حین با استفاده از روش‌های مختلف، پین‌های تحویل انرژی دو چیپلت به لایه‌ی توزیعِ مجدد خود این چیپلت‌ها متصل‌اند. مزیت راهکار هواوی عدم استفاده از TSV است،‌ اما به‌نظر می‌رسد پیاده‌سازی این روش سخت و پرهزینه باشد.

هواوی می‌گوید یکی از چیپلت‌ها را قبل از متصل کردن به چیپلت (یا چیپلت‌های) دیگر وارونه می‌کند و حداقل دو لایه‌ی توزیع مجدد برای تحویل انرژی می‌سازد (دو لایه برای دو چیپلت، سه لایه برای سه چیپلت و...)؛ این کار هزینه‌ها را بالا می‌برد چون برای عملی شدنش باید چند فرایند مختلف طی شود. خبر خوب این است که می‌توان از زیرلایه‌ی توزیع مجدد یکی از چیپلت‌ها برای اتصال حافظه و موارد این چنینی استفاده کرد.

حقیقت این است که فناوری ترکیبی جدید هواوی پرکاربردتر از روش‌های سنتی ۲٫۵ بعدی و سه بعدی به‌نظر می‌رسد. قرار دادن سه تراشه‌ی پرمصرف و داغ روی یکدیگر کار بسیار سختی است چون فرایند خنک‌سازی چنین بسته‌ای پیچیده خواهد بود (در این حالت ممکن است تراشه‌ساز تصمیم به کاهش سرعت کلاک و قدرت پردازشی بگیرد).

راهکار هواوی برای رفع این مشکل ابعاد سطح پکیج را افزایش می‌دهد تا بتوان آن را راحت‌تر خنک کرد. تراشه‌ای که درنتیجه‌ی راهکار هواوی ساخته می‌شود همچنان کوچک‌تر از تراشه‌های مبتنی‌بر فناوری ۲٫۵ بعدی است و این موضوع برای تراشه‌های گوشی، تبلت و لپ تاپ اهمیت زیادی دارد.

البته هواوی در بازار تنها نیست. گزارش‌ها می‌گویند SMIC که در همکاری با هواوی قصد دارد کارخانه‌ی تراشه‌سازی احداث کند، در تلاش است با توسعه‌ی راهکارهایی مشابه فشار تحریم‌های آمریکا را کم کند. شرکت چینی SMIC اجازه‌ی دسترسی به ابزارهای لازم برای تولید تراشه‌هایی را که از لیتوگرافی ۱۰ نانومتری و کوچک‌تر استفاده می‌کنند، ندارد؛ بنابراین راهکارهای مدرن پشته‌سازی برای SMIC نیز بسیار مهم است.

دیگر تولیدکنندگان قراردادی مثل TSMC و GlobalFoundries و شرکت‌های نام‌آشنایی همچون اینتل و سامسونگ و حتی AMD که به جدیدترین فناوری‌های روز دنیا دسترسی دارند نیز به‌دنبال توسعه‌ی راهکارهایی برای بهبود فناوری پشته‌سازی ۲٫۵ بعدی و سه بعدی هستند. بنابراین هواوی همچنان راه سختی در پیش دارد.

نظرات

متخصصین هواوی دست‌به‌کار شدند؛ این فناوری جدید تحریم‌های آمریکا را دور می‌زند - زومیت