نمایشگر تاشو گلکسی زد فولد ۵ احتمالاً فرورفتگی کمتری خواهد داشت

یک‌شنبه 25 دی 1401 - 18:00
مطالعه 2 دقیقه
اسپیکر و درگاه‌های گلکسی زد فولد ۴
ظاهراً سامسونگ قصد دارد با استفاده از لولای جدید قطره‌ای در گلکسی زد فولد ۵، مشکل فرورفتگی و دوام نمایشگر تاشو این گوشی را رفع کند.
تبلیغات

گلکسی زد فولد ۴ بی‌شک یکی از بهترین گوشی‌های تاشویی است که سال ۲۰۲۲ به بازار عرضه شد؛ زیرا تعادل بسیار خوبی بین کیفیت ساخت، دوربین، نرم‌افزار و عمر باتری ارائه می‌دهد. بااین‌حال، این بدان‌معنا نیست که جایی برای پیشرفت دستگاه مذکور وجود ندارد. سامسونگ باید یکی از نقص‌های بزرگ طراحی گوشی‌های هوشمند تاشو خود را رفع کند و به‌نظر می‌رسد با گلکسی زد فولد ۵ این کار را انجام خواهد داد.

به‌گزارش SamMobile، سامسونگ از لولایی قطره‌ای‌شکل در گلکسی زد فولد ۵ استفاده خواهد کرد. این یعنی گوشی تاشو پرچم‌دار بعدی غول فناوری کره‌ای می‌تواند کاملاً صاف و در حالت تاشو بدون درز باشد. لولای جدید این گوشی باعث خواهد شد نمایشگر داخلی آن در حالت تاشو فرورفتگی کمتری داشته باشد و این دقیقاً همان چیزی است که طرفداران زد فولد در چند سال اخیر بارها به آن اشاره کرده‌اند.

بااین‌حال، برخلاف شرکت‌های چینی سازنده‌ی گوشی‌های تاشو سامسونگ سری زد فولد را با گواهی IPX8 عرضه می‌کند؛ بنابراین، گوشی مذکور دربرابر نفوذ آب کمی مقاومت دارد. گلکسی زد فولد ۵ ازنظر طراحی و تجربه نزدیک به دستگاه ایدئالی خواهد بود که طراحی کاملاً صاف تاشو و مقاومت دربرابر آب را ارائه خواهند داد. در این شرایط، مقاوم‌نبودن دربرابر گردوغبار تنها نقص گوشی مذکور خواهد بود.

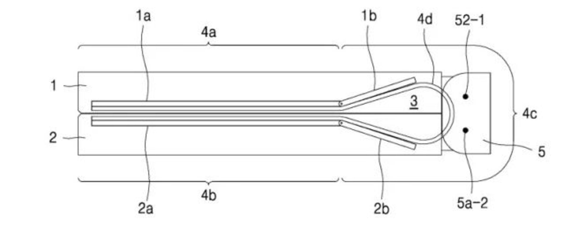
پتنت لولای قطره‌ای سامسونگ برای زدفولد
گلکسی زد فولد ۵ احتمالاً با جایگاه قلم S-Pen و باتری بزرگ‌تر عرضه خواهد شد
شایعات نشان می‌دهند ضخامت و وزن گلکسی زد فولد ۵ درمقایسه‌با مدل کنونی این دستگاه افزایش خواهد یافت.
گلکسی زد فولد ۵ احتمالاً با جایگاه قلم S-Pen و باتری بزرگ‌تر عرضه خواهد شد

گفته‌ می‌شود سامسونگ طراحی جدید لولای زد فولد ۵ را دمبل (Dumbbell) نامیده است. این شرکت طرح مذکور را در سال ۲۰۱۶ ثبت کرده؛ اما به‌دلایل نامشخصی همچنان از آن در گوشی‌های تاشو خود استفاده نکرده است. طبق گزارش‌ها، این برند با استفاده از لولای جدید خود، دوام صفحه‌نمایش را نیز بهبود خواهد داد؛ ازاین‌رو، طول عمر آن دربرابر تا و باز شدن افزایش خواهد یافت.

نظرات