پتنت جدید اپل به سیستم پیشرفته لولا در گوشی‌های تاشو اشاره دارد

جمعه 14 آذر 1399 - 21:00
مطالعه 2 دقیقه
جدیدترین پتنت اپل به مکانیزمی متشکل از چندین مفصل پیاپی اشاره دارد که می‌تواند در لولای دستگاه‌هایی با نمایشگر تاشدنی کارایی داشته باشد.
تبلیغات

تاکنون، شرکت‌های متعددی مانند سامسونگ، هواوی و موتورولا گوشی‌های تاشدنی روانه‌ی بازار کرده‌اند؛ اما باتوجه‌به مشکلات و قیمت گزاف‌شان، با استقبال زیادی رو‌به‌رو نشدند. اپل، غول فناوری مستقر در کوپرتینو نیز به ارائه‌ی پتنت‌ها و تحقیق و توسعه در آزمایشگاه‌های خود بسنده کرده است تا شاید محصولی کامل‌تر و موفق‌تر از رقبایش تولید و عرضه کند. حال اپل در ثبت اختراع جدید خود نوع دیگری از لولا را نشان می‌دهد که علاوه‌بر آیفون شاید در محصولات دیگر هم استفاده شود.

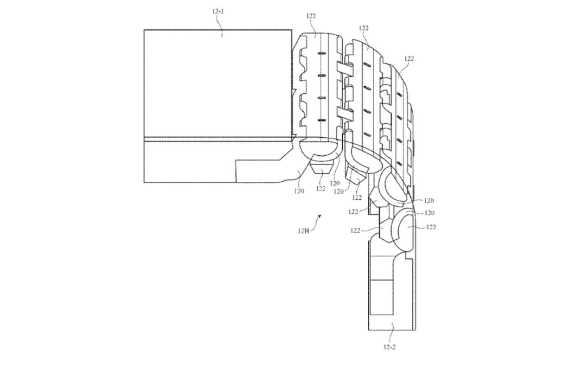
پتنت منتشرشده در تاریخ ۳ دسامبر (۱۳ آذر)، با عنوان «دستگاه‌های الکترونیکی دارای نمایشگرهای منعطف تاشدنی» اپل مجموعه سیستم و راهکارهایی برای استفاده از لولاهای جدید در محصولات تاشو ارائه می‌دهد. این پتنت جزئیات یک دستگاه تاشدنی را نشان می‌دهد که در یک زاویه‌ی قائم خم شده و ساختار جدید لولای آن از چند پیوند پیاپی تشکیل شده است. به‌عبارت‌دیگر، کوپرتینونشین‌ها به‌جای لولای یکپارچه، از چندین مفصل برای خم‌شدن لولا و صفحه‌نمایش بهره می‌گیرند. مکانیزم یادشده تنها یکی از چندین لولای طراحی‌شده در فرایند آزمون‌وخطای اپل به‌حساب می‌آید.

پتنت جدید اپل مرتبط با محصولات تاشو

در تکمیل اختراع جدید، اپل پیشنهاد می‌کند که ساختار لولا می‌تواند شامل چرخ‌دنده، تسمه و سایر ساختارهای متحرک باشد که در هنگام خم‌شدن دستگاه در موازات یکدیگر به حرکت در می‌آیند. اجزای متحرک می‌توانند شامل میله‌ها و پیوندهایی با سطح تحمل فشار به‌صورت منحنی مخالف باشند. چنین مکانیزمی شامل سطوح متوقف‌کننده نیز می‌شود که در نهایت می‌توانند از چرخش بیش از حد میله و پیوندها جلوگیری کنند. پیوندهای لولا بدون اینکه درون ساختار واقعی لولا در ضخامت صفحه‌نمایش قرار گیرند، می‌توانند در اطراف یک نقطه محوری درون صفحه‌نمایش، چرخش داشته باشند.

ثبت اختراع جدید اپل به نوعی نمایشگرهای تاشدنی را هدف قرار می‌دهد و خاطرنشان می‌کند که از دستگاهایی با ساختار تاشو، حرکات کشویی، حرکات پیمایشی یا سایر ساختارها برای صفحه‌نمایش منعطف پشتیبانی می‌کند و می‌تواند با ابعداد کوچک‌تر، صفحه‌نمایش گسترده‌تری را برای کاربران فراهم کند. افزون‌براین، ساختار لولای جدید می‌تواند با استفاده از سطوح متوقف‌کننده، میزان نیروی واردشده را کنترل و از فشار ناخواسته صفحه‌نمایش در هنگام تا خوردن و باز شدن جلوگیری کند. ناگفته نماند پتنت یادشده به استفاده در صفحه‌نمایش آیفون محدود نمی‌شود، بلکه اپل ادعا می‌کند که لولای پیاپی را می‌توان درستگاه‌هایی از جمله مچ‌بند، لپ‌تاپ، عینک، تجهیزات داخل خودرو و... استفاده کرد.

اپل به‌صورت هفتگی اختراعات بی‌شماری ثبت می‌کند. ثبت اختراع نشان‌دهنده‌ی موضوعات مورد علاقه‌ی تحقیق و توسعه شرکت‌ها است؛ اما تضمین‌کننده‌ی ارائه آن در محصول یا خدمات نیست.

نظرات