کیبورد مک بوک پرو 2018 اپل با غشاء سیلیکونی از نفوذ گردوغبار جلوگیری می‌کند

شنبه 23 تیر 1397 - 13:45
مطالعه 3 دقیقه
در طراحی کیبورد مک‌بوک‌ پرو جدید اپل، از لایه‌ی سیلیکونی استفاده شده است که علاوه‌بر بی‌صدا کردن کیبورد، مانع نفوذ گردوغبار به زیر آن خواهد شد.
تبلیغات

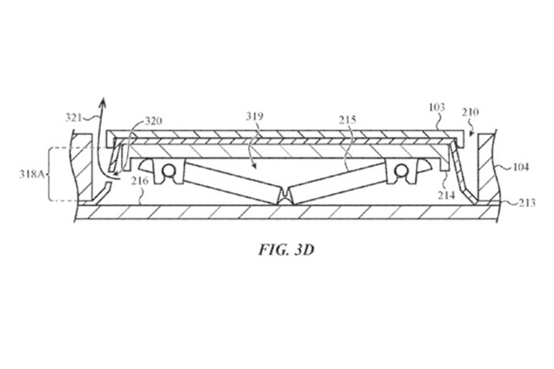
اپل در تعریف از مک‌بوک‌پروهای جدید خود اعلام کرد که کیبوردهای جدید بی‌صداتر از مدل‌های قبلی هستند؛ ولی در مورد طراحی سخت‌افزاری کیبوردهای جدید توضیح بیشتری ارائه نداد؛ با این حال، بعد از باز کردن قسمت سخت‌افزاری کیبورد، متوجه‌ یک لایه‌ی سیلیکونی جدید روی هر کلید خواهید شد که نشان می‌دهد کلیدها نسبت به نفوذ گردوغبار مقاوم‌تر هستند.

یکی از کارشناسان وب‌سایت iFixit، بعد از باز کردن کیبورد آخرین مدل MacBook Pro، متوجه تغییرات قابل‌توجهی در طراحی آن شد. ظاهرا اپل با استفاده از یک غشاء نازک سیلیکونی، روی مکانیزم هر کلید را پوشانده است، بدین ترتیب کلیدها با استفاده از لایه‌ی نازک سیلیکونی، در برابر نفوذ گردوغبار محافظت می‌شوند. با این طراحی جدید، مشکلاتی همچون مسائلی که سال گذشته‌ برای کیبورد نسل قبلی مک بوک پرو رخ داد، بروز پیدا نخواهد کرد.

کیبورد مک بوک پرو

اپل، درباره‌ی مک‌بوک‌ پرو جدید چنین موضوعی را عنوان نکرده و گزارش iFixit هنوز به تایید اپل نرسیده است؛ با این‌حال، iFixit ادعا می‌کند که بی‌صدا بودن کیبورد تنها یکی از تأثیرات جانبی استفاده از لایه‌ی سیلیکونی محسوب می‌شود و در اصل یکی از کاربردهای لایه‌ی سیلیکونی جدید، جلوگیری از نفوذ گردوغبار به زیر کلیدها است.

چند روز قبل مک‌بوک‌پرو ۱۳ و ۱۵ اینچی اپل با پردازنده‌‌ی نسل هشتمی اینتل و کیبورد بی‌صداتر به‌روز شدند. در همان زمان، بحثی جدی در مورد نسل سوم کلیدهای مبتنی بر مکانیزم Butterfly کیبورد مطرح شد. تعدادی از کاربران مک بوک پرو با مشکل گیر کردن ذرات گردوغبار در کیبورد مک بوک خود مواجه شده بودند. کار به جایی رسید که برخی کاربران راهکارهایی برای حل این مشکل ارائه دادند و در نهایت اسفندماه مشخص شد که مک بوک اپل به کیبوردی مقاوم در برابر گردوغبار مجهز می‌شود.

مک بوک

بعد از معرفی مک‌بوک‌پرو جدید، فرض اولیه بر این مبنا شکل گرفته بود که کیبورد جدید بی‌صداتر از نسل قبلی خواهد بود؛ ولی صحبتی از برطرف شدن مشکل گیر گردن ذرات گردوغبار زیر کلیدها نشده بود. در اصل طبق اعلام اپل، تغییراتی در طراحی کیبورد اعمال شده است؛ اما کوپرتینونشین‌ها در مورد جزئیات آن توضیح چندانی ارائه نکردند. اپل اعلام نکرده بود که کلیدهای جدید، قابلیت اطمینان بالاتری نسبت به مدل‌های قبلی دارند.

به‌نظر می‌رسد که پتنت جدید اپل این تئوری را تایید می‌کند. پتنت جدید اپل تایید می‌کند که لایه‌ی نازک سیلیکونی محافظ روی کلیدهای کیبورد برای جلوگیری از نفوذ گیردوغبار زیر کلیدها خواهد شد. بی‌شک طراحی صفحه کلید مک‌بوک‌ پرو یکی از موضوعات مهم و کلیدی برای اپل محسوب می‌شود و جزو مواردی است که کوپرتینونشین‌ها به آن رسیدگی می‌کنند. احتمال می‌رود که اپل هنوز در مورد برطرف شدن مشکل گیر کردن گردوغبار زیر کلیدها در طراحی جدید مردد باشد. از سوی دیگر نباید این موضوع را هم نادیده بگیریم که اپل، کیبورهای قبلی را معیوب نمی‌داند تا به این ترتیب تصمیم بگیرد راهکار جدید را روشی برای رفع عیب محصولات قبلی خود معرفی کند. از این حیث شاید بتوان موارد یادشده را دلیل سکوت کوپرتینونشین‌ها در مورد طراحی جدید کیبورد دانست.

نظرات