سونی در پلی ‌استیشن ۵ پرو احتمالا از دو پردازنده گرافیکی استفاده خواهد کرد

شنبه 15 آذر 1399 - 14:40
مطالعه 3 دقیقه
اختراع جدید سونی مکانیزمی متشکل از دو پردازنده‌ی گرافیکی برای استفاده در PS5 Pro را نشان می‌دهد که می‌تواند محتوای واقعی 4K با نرخ ۱۲۰ فریم ‌بر ‌ثانیه ارائه دهد.
تبلیغات

چندی پیش سونی و مایکروسافت کنسول‌های جدید خود را روانه‌ی بازارهای بین‌المللی کردند. جدای از مشکلات فراوان در عرضه‌ی هر دو کنسول و موجودی محدود آن‌ها که باعث افزایش چندین برابری قیمت در بازار سیاه شد، با عرضه‌ی آن‌ها نسل نهم کنسول‌های صنعت گیم آغاز شد تا کاربران را در دنیای زیبا و پر از جزئیات خود غوطه‌ور کنند. سونی در کنسول نسل نهمی‌اش از سخت‌افزار قدرتمندی بهره می‌گیرد و تمرکز اصلی آن در این نسل روی حافظه‌ی پرسرعت SSD معطوف شده؛ به‌طوری که حافظه‌ی SSD پلی‌استیشن ۵ قادر به انتقال داده‌های غیر فشرده مبتنی بر Kraken با سرعت ۵٫۵ گیگابایت بر ثانیه است. قیمت PS5 استاندارد توسط سونی ۴۹۹ دلار اعلام شد. 

سونی در بطن پلی‌استیشن ۵ از یک پردازنده‌ی گرافیکی با قدرت ۱۰٫۲۳ ترافلاپس استفاده کرده است. این پردازنده‌ی گرافیکی قدرت پردازشی مناسبی ارائه می‌دهد؛ اما آن را از حیث قدرت خام، پایین‌تر از پردازنده‌ی گرافیکی ۱۲ ترافلاپسی رقیب دیرینه‌اش، ایکس‌باکس سری ایکس قرار می‌دهد. حال  اختراع جدید سونی از احتمال استفاده از دو پردازنده‌ی گرافیکی به منظور ارائه‌ی قدرت پردازشی بیشتر حکایت دارد که می‌تواند آن را در رقابت با کنسول مایکروسافت در سطح بالاتری قرار دهد. 

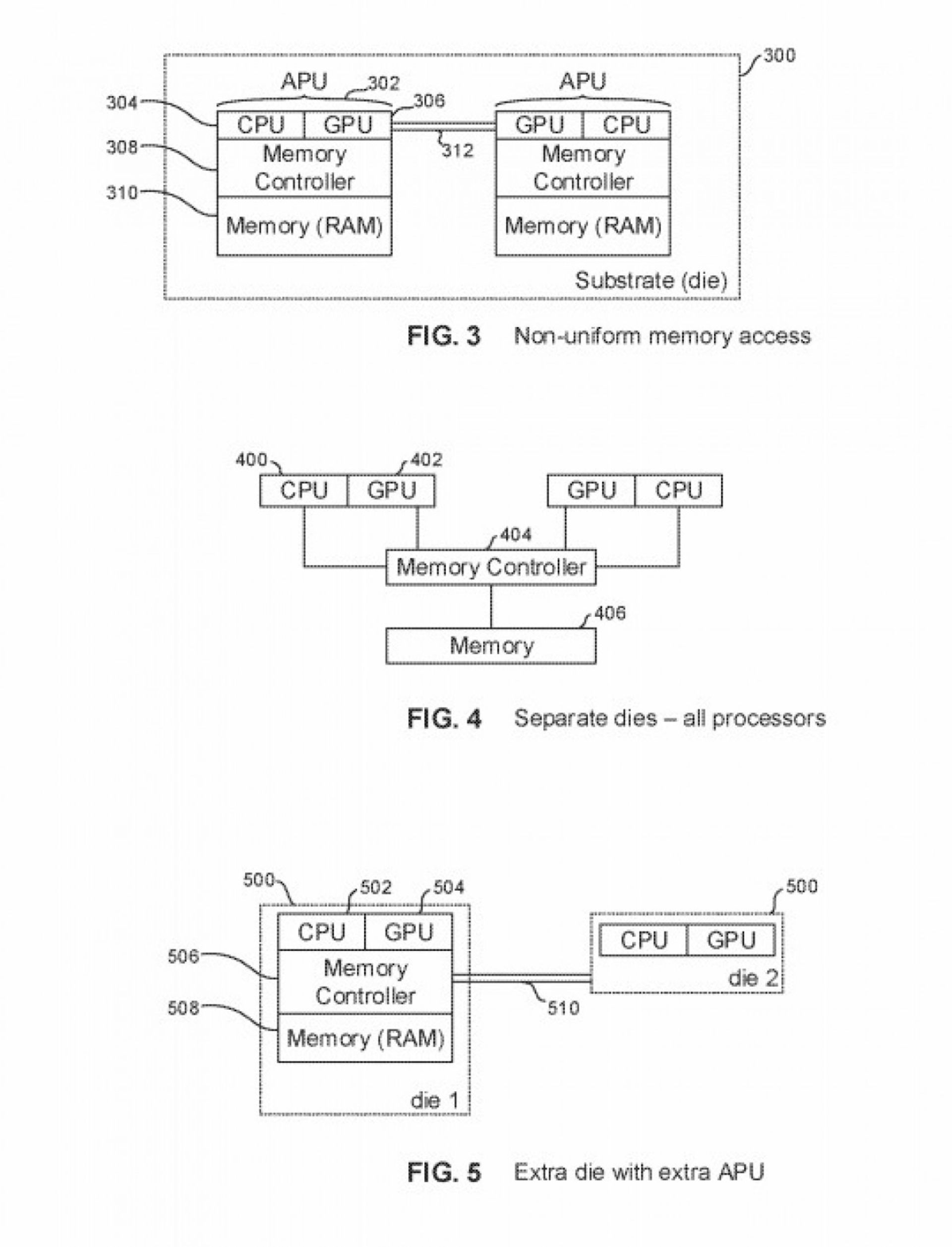
پتنت سونی مرتبط با دو پردازنده‌ی گرافیکی در PS5 Pro

اختراع ثبت‌شده سونی در ژانویه سال گذشته (دی ۱۳۹۸)، پروژه‌ای بلندپروازانه از یک کنسول را نشان می‌دهد که دو پردازنده‌ی گرافیکی (GPU) درون آن تعبیه شده است و آن را به برخی از پیکربندی‌های کامپیوتر شخصی با پشتیبانی از قابلیت NVidia SLI و AMD CrossFire شبیه کرده است. با استفاده از دو قابلیت یادشده می‌توان در کامپیوتر شخصی چندین کارت گرافیک با واحد پردازنده گرافیکی یکسان را به یکدیگر وصل کرد و از قدرت پردازشی همه آن‌ها به‌صورت یک خروجی واحد بهره برد.

به ادعای سونی، پیاده‌سازی دو پردازنده گرافیکی در یک کنسول بسیار دقیق‌تر از کامپیوتر شخصی خواهد بود. اختراع سونی جزئیات نحوه کار این دو GPU برای ارائه هم‌زمان یک فریم واحد یا تقسیم فریم به دو خروجی و تغذیه آن با استفاده از دو پردازنده‌ی گرافیکی را نشان می‌دهد. در مکانیزم یادشده، یکی از پردازنده‌های گرافیکی خروجی HDMI را کنترل خواهد کرد و دیگری خروجی فریم‌ریت را در محتوای ویدئویی مدیریت می‌کند. سونی در این اختراع به کنسولی بالارده با فضای ذخیره‌سازی بیشتر و سریع‌تر اشاره کرده است.

این پتنت به‌نوعی پیکربندی PS4 و PS4 Pro را یادآوری می‌کند؛ بنابراین احتمالا سونی مدتی است که مشغول توسعه‌ی پلی‌استیشن ۵ پرو با دو پردازنده‌ی گرافیکی بوده. سونی با ارائه‌ی دو پردازنده‌ی گرافیکی می‌تواند تجربه‌ی واقعیت مجازی را بهبود دهد و بازی 4K با نرخ ۱۲۰ فریم‌ بر‌ ثانیه واقعی و بدون افت جزئیات را امکان‌پذیر کند. سونی خاطرنشان می‌کند که دو GPU برای جلوگیری از ازدحام حافظه، از کنترل‌کننده و حافظه اختصاصی استفاده می‌کنند. در تکمیل این اختراع به پلتفرم ابری بازی نیز اشاره شده است. سونی پلتفرم ابری را با یک دستگاه اضافه همراه ‌با حسگرهایی مانند GPS، استاندارد NFC، بلستر IR، حسگر زیستی، حسگر سنجش هوا و موارد دیگر یاد می‌کند. این حسگرها به کنسول متصل خواهند شد تا رایانش ابری و در نهایت، بازی‌ ابری را به ارمغان بیاورند. البته باید به این نکته اشاره کرد که سونی اطلاعات زیادی از چگونگی به‌کارگیری این حسگرها ارائه نداده است.

اکثر شرکت‌ها به‌صورت هفتگی اختراعات بی‌شماری ثبت می‌کند. ثبت اختراع نشان‌دهنده‌ی موضوعات مورد علاقه‌ی تحقیق و توسعه شرکت‌ها است؛ اما تضمین‌کننده‌ی ارائه آن در محصول یا خدمات نیست.

نظرات