پتنت لیزری سوزوکی برای افزایش ایمنی موتورسیکلت

سه‌شنبه 24 بهمن 1396 - 15:30
مطالعه 3 دقیقه
سوزوکی از ثبت اختراع جدیدی خبر می‌دهد که برای حفاظت از جان موتورسواران و پیشگیری از تصادف، به کمک پروژکتورهای لیزری به رانندگان خودروها هشدار می‌دهد.
تبلیغات

موتورسیکلت به‌عنوان وسیله‌‌‌‌ی نقلیه‌ای با آسیب‌پذیری بالا و دارای بیش‌ترین تلفات و تصادفات جاده‌ای در سطح دنیا شناخته می‌شود. تحقیقات گسترده‌ای درخصوص عوامل کاهنده‌ی شدت تصادفات موتورسیکلت و کاهش میزان تلفات و جراحات ناشی از آن صورت گرفته است. مهم‌ترین راهکاری که در حین تصادف می‌تواند موتورسوار را از آسیب برهاند، استفاده از تجهیزات حفاظت شخصی است. تجهیزات حفاظت شخصی به لوازم و لباس‌هایی گفته می‌شود که باعث کاهش خطرات و جراحات موتورسوار در هنگام تصادف می‌شوند. این تجهیزات، با جذب انرژی ضربه‌ی تصادف، از جراحت و صدمه‌دیدگی موتورسوار می‌کاهند.

سوزوکی هایابوسا

هر بار که راننده سوار موتورسیکلت می‌شود، خطرات زیادی را می‌پذیرد؛ از این میان کسانی که دوست دارند بیش‌تر عمر کنند و به سلامت جسمی خود اهمیت زیادی می‌دهند، اقدامات گوناگونی برای کاهش خطرات رانندگی با موتورسیکلت انجام می‌دهند. این اقدامات شامل پوشیدن کلاه ایمنی، لباس محافظ مخصوص موتورسواری، دستکش، چکمه‌ی مخصوص، جلیقه بلند، چراغ‌های اضافه، گذراندن دوره آموزش رانندگی و ... است. یکی از مهم‌ترین خطرات برای رانندگی با موتورسیکلت، سطح بی‌توجهی راننده است؛ امروزه رانندگان بسیاری را می‌بینیم که به طرز حیرت‌انگیزی رانندگی می‌کنند و این باعث می‌شود خودروهای اطراف خود را نبینند. سرعت بسیار زیاد باعث می‌شود که این موتورسیکلت‌ها تقریبا نامرئی به نظر برسند و به همین دلیل سوزوکی برای جلب توجه رانندگان و کاهش تصادفات رانندگی، ایده جالبی با استفاده از لیزر دارد.

اختراع سوزوکی / suzuki موتورسیکلت

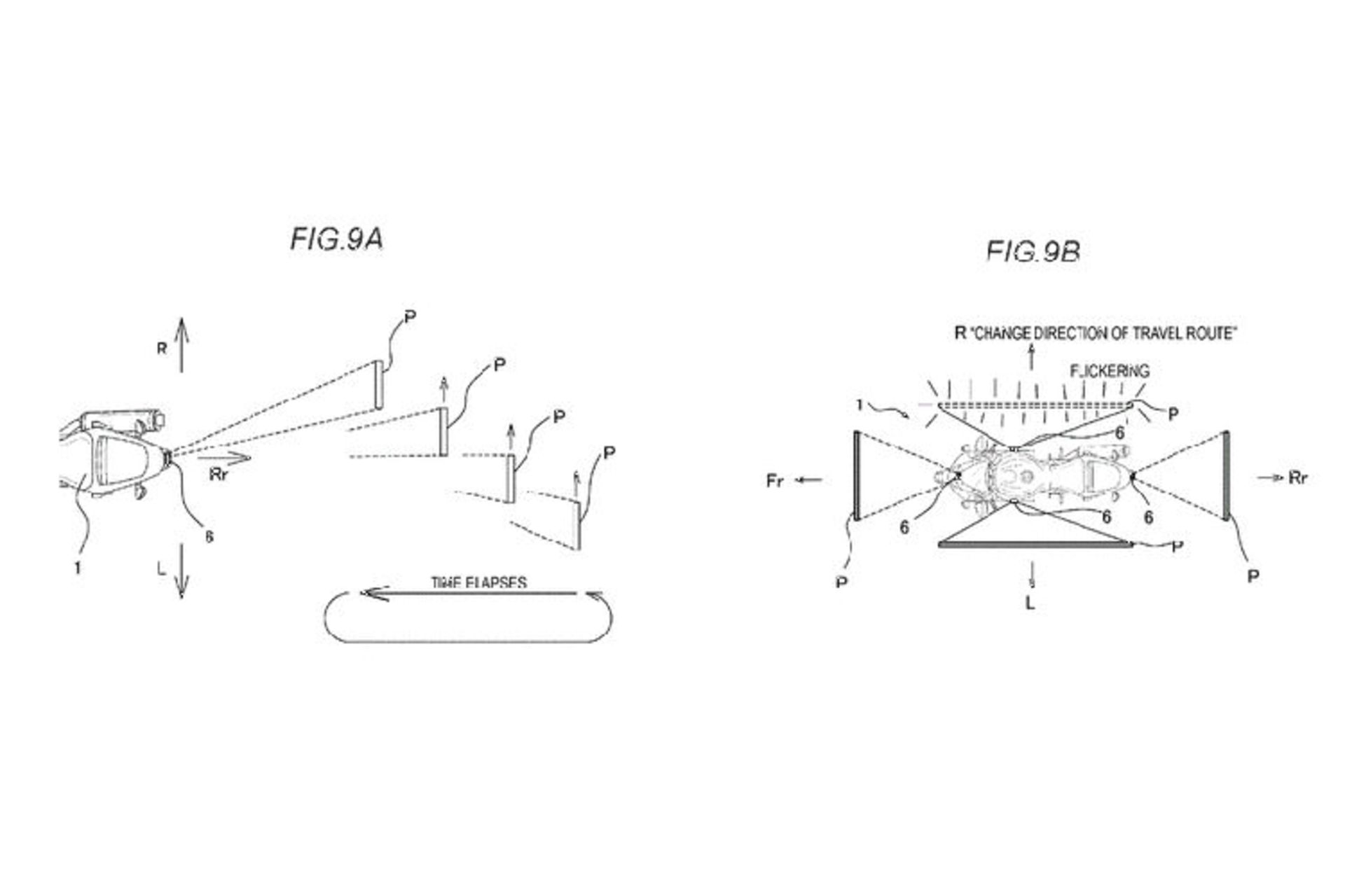
به‌تازگی سوزوکی (Suzuki) دست‌آورد جدیدی با نام سیستم هشدار و پیشگیری از تصادف (برخورد) مبتنی بر لیزر ثبت اختراع کرده است. این اختراع بر اساس سیستم‌های لیزری موجود در بازار قطعات جانبی دوچرخه‌سواران طراحی شده است و با استفاده از پروژکتورهای لیزری، جعبه ایمنی پویایی در اطراف موتورسیکلت و روی پیاده‌رو طراحی می‌کند. جعبه در سرعت‌های پایین فشرده می‌شود؛ ولی در سرعت‌های بالا گسترش می‌یابد تا به رانندگان هشدار دهد که موتورسواری دارد با سرعت حرکت می‌کند و باید فاصله ایمنی را با آن رعایت کنند.

اختراع سوزوکی / suzuki موتورسیکلت

بخش هوشمندانه سیستم جایی است که چراغ‌ها به سیستم حسگر ۳۶۰ درجه متصل می‌شوند که ترافیک اطراف موتورسیکلت را تشخیص می‌دهد و به خودروهای اطراف می‌گوید چقدر به آن نزدیک هستند. هنگامی که خودرویی پشت سر موتورسیکلت قرار می‌گیرد، چراغ پروژکتور لیزری شروع به چشمک زدن می‌کند و هنگامی که بیش از حد مجاز به آن نزدیک شود، این نور تبدیل به X بزرگ قرمزرنگ خواهد شد. همچنین سیستم از حسگرهای مختلف برای تشخیص زاویه کج‌ شدن موتورسیکلت و شتاب حتی در مانورها استفاده می‌کند که بر بهبود عملکرد آن خواهد افزود.

اختراع سوزوکی / suzuki موتورسیکلت

آیا جعبه ایمنی لیزری سوزوکی ایده‌ی خوبی برای ایمنی و حفاظت از جان رانندگان موتورسیکلت است؟ آیا استفاده از این روش به کاهش برخورد موتورسیکلت با خودروها کمک خواهد کرد؟ پاسخ دادن به این پرسش‌ها سخت است. دوچرخه‌سوارانی که از سیستم‌های مشابه ولی با پویایی کمتری استفاده کرده‌اند، موفقیت‌هایی بدست آورده‌اند؛ اما در نهایت همه‌ چیز به رانندگان خودرو بستگی دارد که بتوانند تصاویر لیزری روی سطح جاده را متوجه شوند و واکنش مناسبی نشان دهند. شاید به‌زودی این طرح اجرایی شود و موتورسیکلت‌هایی ببینیم که از پروژکتور لیزری برای جلب توجه رانندگان خودرو استفاده می‌کنند؛ اما به نظر می‌رسد برای عملی شدن طرح در سطح وسیع نیاز به آزمایش‌های زیادی خواهد بود.

نظرات