پتنت جدید کانن جزئیات فناوری آینده واحد IBIS دوربینهای این شرکت را نشان میدهد
کاربرد پتنت جدید کانن در وبسایت کانننیوز (Canon News) بررسی شده است که جزئیات موجود در تصاویر بهطور قانعکنندهای فناوری احتمالی در دوربین Canon EOS R و احتمالا DSLRهای آیندهی این شرکت خوشنام ژاپنی را نشان میدهند. بهنظر میرسد کانن تمام تلاش خود را کرده است تا واحد IBIS دوربینهای خود را تا حد امکان دقیق و قدرتمند سازد؛ چراکه آنها بهدنبال ایجاد بازدهی درخورتوجه در نیروی حرکتی و بهبود رفتار خطی مدار مغناطیسی ردیابی موقعیت هستند. هر دو این ویژگیها برای حرکتدادن سریع و بسیار دقیق حسگر بزرگ فولفریم ضرورت دارند.
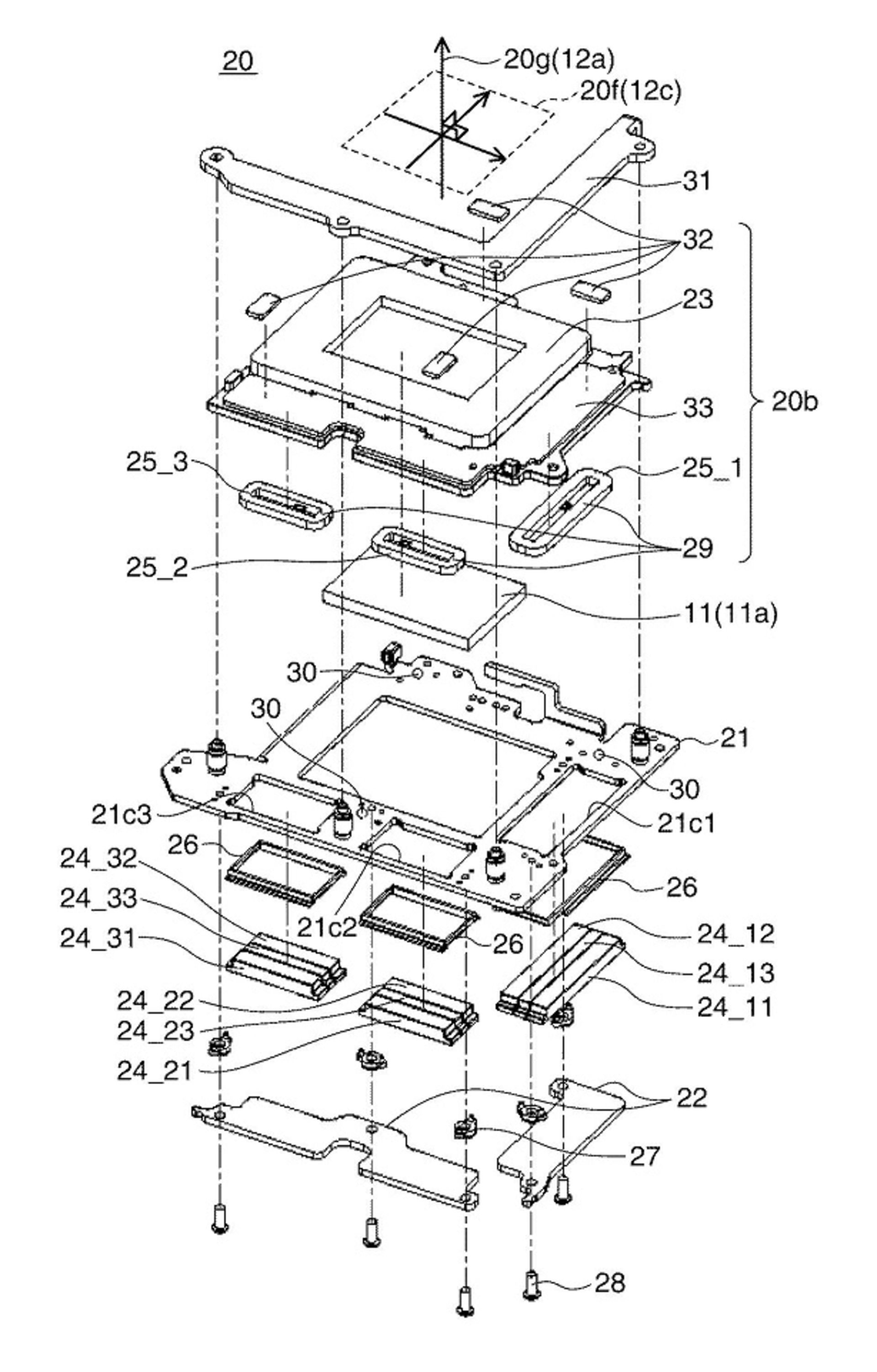
درادامه، نمای گسترشیافته و دقیق طراحی ثبتشدهی کانن را مشاهده میکنید:
دور از انتظار نیست که اولین تلاش کانن برای استفاده از پایدارساز تصویر درون بدنه (IBIS) فناوری مشابه استفادهشده در دوربینهای فولفریم سونی و نیکون و سایر تولیدکنندگان را بهبود ببخشد. برای کاربرانی که به امید ارائهی ویژگیهای جدید و خلاقانهی کانن به این غول مشهور تولیدکنندهی دوربین وفادار ماندهاند، این میتواند خبر خوشحالکنندهای باشد.
قیمت بهروز، مشخصات فنی و هر اطلاعاتی که برای خرید ارزان و آگاهانهی انواع دوربینهای DSLR، بدون آینه و دیگر محصولات کانن نیاز دارید را در بخش محصولات زومیت بیابید. در این بخش، علاوهبر مشخصات فنی دقیق و پاسخ به سوالات شما، امکان مقایسهی دو یا چند محصول درکنار گالری تصاویر رسمی محصولات دردسترس شما خواهد بود.